Запчасти Komatsu PC1000LC-1 КОНДИЦ. ВОЗДУХА (ЭЛЕКТР.)(№-7) ЧАСТИ КОРПУСА

Схема запчастей Komatsu PC1000LC-1 - КОНДИЦ. ВОЗДУХА (ЭЛЕКТР.)(№-7) ЧАСТИ КОРПУСА
FIT
1:1
100%

Артикул

Название

Примечание

Количество

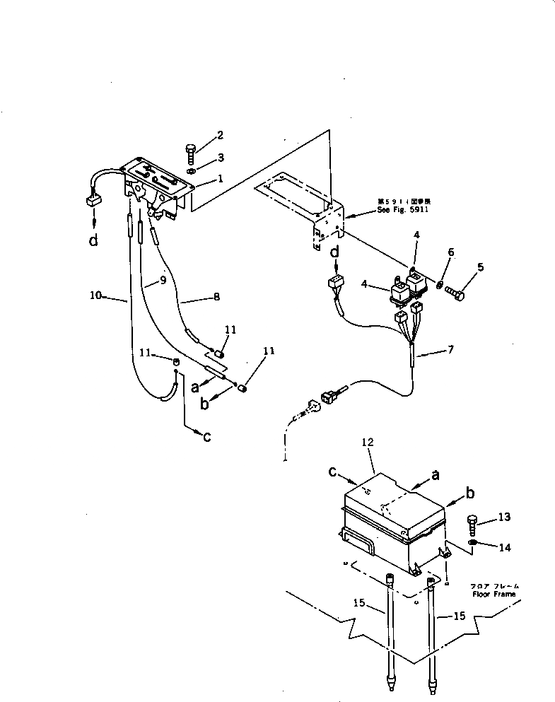
G-1

21N-979-X100

AIR CONDITIONER G.

1

205-979-6160

CONTROL ASS'Y

2

01010-50816

BOLT

3

01643-30823

WASHER

4

205-979-6460

RELAY ASS'Y

5

01010-50816

BOLT

6

01643-30823

WASHER

7

205-979-1330

WIRING HARNESS

8

205-979-1150

CABLE

9

205-979-1160

CABLE

10

205-979-1170

CABLE

11

195-979-4160

BUSHING

12

205-979-6110

COOLING UNIT

13

01010-51225

BOLT

14

01643-31232

WASHER

15

209-979-1250

HOSE

Выбрано товаров: 16