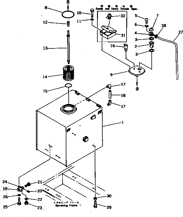
Запчасти Komatsu PC1000LC-1 ГИДРАВЛ МАСЛ. БАК (КРОМЕ ЯПОН.) УПРАВЛ-Е РАБОЧИМ ОБОРУДОВАНИЕМ

Схема запчастей Komatsu PC1000LC-1 - ГИДРАВЛ МАСЛ. БАК (КРОМЕ ЯПОН.) УПРАВЛ-Е РАБОЧИМ ОБОРУДОВАНИЕМ
FIT
1:1
100%

Артикул

Название

Примечание

Количество

|$0

21N-60-00020

HYDRAULIC TANK ASS'Y

1

21N-60-11111

TANK

2

205-60-51480

SCREEN

3

205-60-66211

GASKET

3

205-60-51460

GASKET

4

201-60-12171

FILLER NECK

5

01220-40516

SCREW

6

01601-20513

WASHER,SPRING

7

201-60-12190

CAP ASS'Y

8

07000-05230

O-RING

9

21N-60-11190

COVER

10

01010-51240

BOLT

11

01643-31232

WASHER

12

12R-60-11230

SPRING

13

21N-60-11120

SUPPORT

14

209-60-51120

STRAINER

15

21N-09-11140

O-RING

16

424-U40-1120

BREATHER

17

203-60-31100

ELBOW ASS'Y

18

203-60-31160

TUBE

|$20

155-60-12500

VALVE ASS'Y

19

155-60-12510

BODY

20

04025-00532

PIN

21

155-60-12520

VALVE

22

07005-02416

SEAL, WASHER

23

07040-12412

PLUG

24

07000-03025

O-RING

25

01010-51025

BOLT

26

01643-31032

WASHER

27

566-03-11240

TUBE

28

07280-01110

CLAMP

29

01010-52060

BOLT

30

21T-01-11130

WASHER

31

209-04-51320

COVER

32

205-60-71220

LOCK ASS'Y

32

205-54-76280

ROTOR ASS'Y

Выбрано товаров: 36