Запчасти Komatsu PC1000LC-1 РАДИАТОР (КРОМЕ ЯПОН.) КОМПОНЕНТЫ ДВИГАТЕЛЯ И ЭЛЕКТРИКА

Схема запчастей Komatsu PC1000LC-1 - РАДИАТОР (КРОМЕ ЯПОН.) КОМПОНЕНТЫ ДВИГАТЕЛЯ И ЭЛЕКТРИКА
FIT
1:1
100%

Артикул

Название

Примечание

Количество

|$0

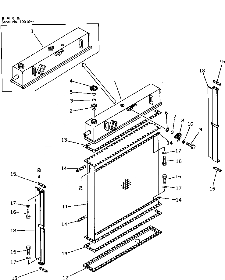
21N-03-00012

RADIATOR ASS'Y

|$1

21N-03-00011

RADIATOR ASS'Y

|$2

21N-03-00010

RADIATOR ASS'Y

|$3

21N-03-00021

TANK ASS'Y,UPPER

|$4

21N-03-00020

TANK ASS'Y,UPPER

1

21N-03-11121

TANK,UPPER

1

21N-03-11120

TANK,UPPER

2

07056-00048

STRAINER

3

07057-03271

RING,FILLER

4

07053-10000

CAP,RADIATOR

5

07053-00002

GASKET

6

175-03-32570

SCREEN

7

07000-63045

O-RING

8

154-03-11682

VALVE,PRESSURE

8

195-03-41370

VALVE,PRESSURE

9

01010-51025

BOLT

10

01643-31032

WASHER

11

195-03-41112

CORE

12

21N-03-11280

TANK,LOWER

13

195-03-41281

GASKET

13

195-03-41280

GASKET

14

195-03-41290

PLATE

15

195-03-41310

PLATE

16

01010-51035

BOLT

17

01602-21030

WASHER,SPRING

18

21N-03-11150

BREAK,WIND

Выбрано товаров: 26