Запчасти Komatsu PC1000LC-1 КОРПУС TO/FROM КОНТРОЛЬНЫЙ КЛАПАНТРУБЫ (ДЛЯ ЭКСКАВАТ.) (ДЛЯ ВЫС. КАБИНА) (КРОМЕ ЯПОН.) УПРАВЛ-Е РАБОЧИМ ОБОРУДОВАНИЕМ

Схема запчастей Komatsu PC1000LC-1 - КОРПУС TO/FROM КОНТРОЛЬНЫЙ КЛАПАНТРУБЫ (ДЛЯ ЭКСКАВАТ.) (ДЛЯ ВЫС. КАБИНА) (КРОМЕ ЯПОН.) УПРАВЛ-Е РАБОЧИМ ОБОРУДОВАНИЕМ
FIT
1:1
100%

Артикул

Название

Примечание

Количество

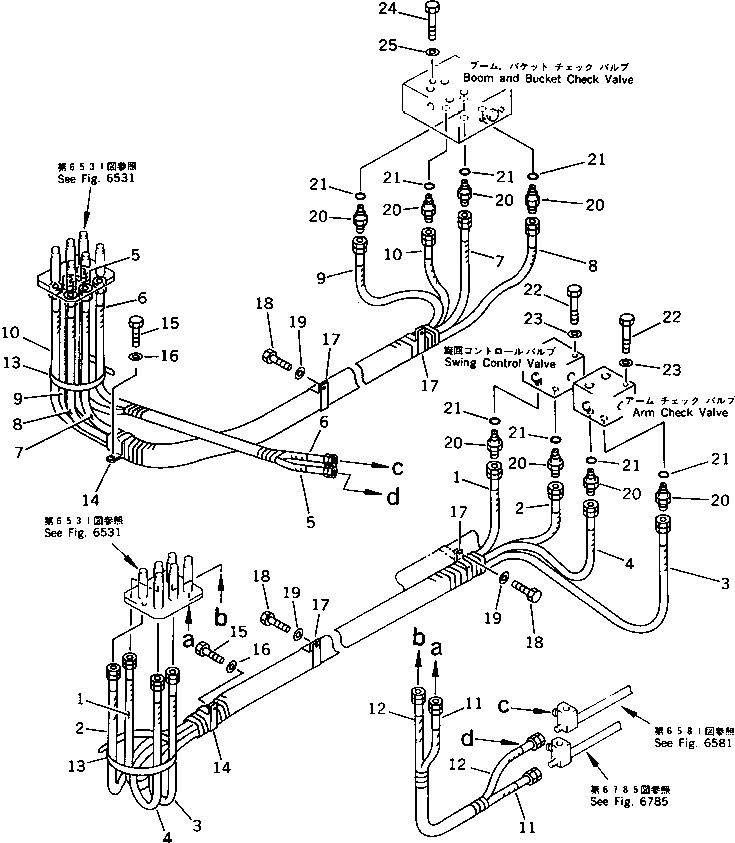
G-1

21N-54-X2000

HIGH CAB GROUP

|$2

21N-62-17161

HOSE ASS'Y

1

07102-20340

HOSE,(YELLOW)

2

07102-20340

HOSE,(WHITE)

3

07102-20340

HOSE,(GREEN)

4

07102-20340

HOSE,(BLACK)

|$7

21N-62-17760

HOSE ASS'Y

5

07102-20314

HOSE,(RED)

6

07102-20315

HOSE,(BLUE)

|$10

21N-62-17181

HOSE ASS'Y

7

07102-20338

HOSE,(YELLOW)

8

07102-20338

HOSE,(WHITE)

9

07102-20338

HOSE,(BLACK)

10

07102-20338

HOSE,(GREEN)

|$15

21N-62-17750

HOSE ASS'Y

11

07102-20315

HOSE,(RED)

12

07102-20315

HOSE,(BLUE)

13

08034-00536

BAND

14

21K-03-11190

CLIP

15

01010-51225

BOLT

16

01643-31232

WASHER

17

21T-06-11950

CLIP

18

01010-51220

BOLT

19

01643-31232

WASHER

20

209-62-57740

UNION

21

07002-02034

O-RING

22

01010-51075

BOLT

23

01643-31032

WASHER

24

01010-51085

BOLT

25

01643-31032

WASHER

Выбрано товаров: 30