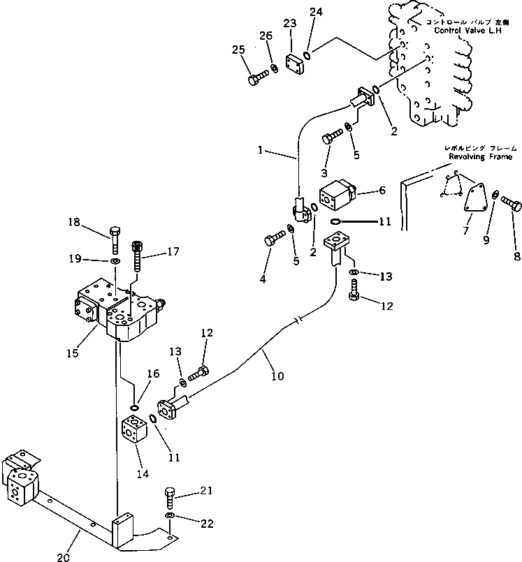
Запчасти Komatsu PC1000LC-1 ЦИЛИНДР СТРЕЛЫТРУБЫ (ДЛЯ УПРАВЛЯЮЩ. КЛАПАН¤ ЛЕВ.) (ШАССИ)(№-) УПРАВЛ-Е РАБОЧИМ ОБОРУДОВАНИЕМ

Схема запчастей Komatsu PC1000LC-1 - ЦИЛИНДР СТРЕЛЫТРУБЫ (ДЛЯ УПРАВЛЯЮЩ. КЛАПАН¤ ЛЕВ.) (ШАССИ)(№-) УПРАВЛ-Е РАБОЧИМ ОБОРУДОВАНИЕМ
FIT
1:1
100%

Артикул

Название

Примечание

Количество

1

21N-62-12470

TUBE

2

21T-09-11510

O-RING

3

01010-51455

BOLT

4

01010-51445

BOLT

5

01643-31445

WASHER

6

21N-60-12600

CHECK VALVE ASS'Y

7

21N-62-12480

BRACKET

8

01010-51225

BOLT

9

01643-31232

WASHER

10

21N-62-12490

TUBE

11

07000-13048

O-RING

12

01010-51455

BOLT

13

01643-31445

WASHER

14

21N-62-12510

BLOCK

15

21N-60-12800

VALVE ASS'Y

16

07000-13048

O-RING

17

01253-41400

BOLT

18

01011-51215

BOLT

19

01643-31232

WASHER

20

21N-62-12571

BRACKET

21

01010-51235

BOLT

22

01643-31232

WASHER

23

209-62-52220

PLATE

24

21T-09-11510

O-RING

25

01010-51455

BOLT

26

01643-31445

WASHER

Выбрано товаров: 26