Запчасти Komatsu PC1000LC-1 СТРЕЛА(№-) РАБОЧЕЕ ОБОРУДОВАНИЕ (ЭКСКАВАТ.)

Схема запчастей Komatsu PC1000LC-1 - СТРЕЛА(№-) РАБОЧЕЕ ОБОРУДОВАНИЕ (ЭКСКАВАТ.)
FIT
1:1
100%

Артикул

Название

Примечание

Количество

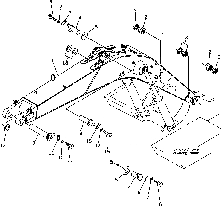
G-1

21N-70-X1100

BOOM GROUP

|$2

21N-70-00013

BOOM ASS'Y

|$3

21N-70-00012

BOOM ASS'Y

|$4

21N-70-00011

BOOM ASS'Y

1

BOOM

1

BOOM

1

BOOM

2

21N-70-11190

BUSHING

2

21N-70-11181

BUSHING

3

209-72-11311

SEAL

G-2

21N-70-X1200

BOOM PIN GROUP

4

21N-72-11152

PIN

5

21N-70-11230

PLATE

6

01010-51640

BOLT

7

01643-31645

WASHER

8

21N-72-11230

SHIM, 1.0MM

9

21N-70-11161

PIN

10

21N-70-11210

PLATE

11

01010-52455

BOLT

12

01643-32460

WASHER

13

21N-72-11210

SHIM, 1.0MM

14

21N-70-11171

PIN

15

21N-70-11210

PLATE

16

01010-52455

BOLT

17

01643-32460

WASHER

18

21N-72-11210

SHIM, 1.0MM

Выбрано товаров: 0