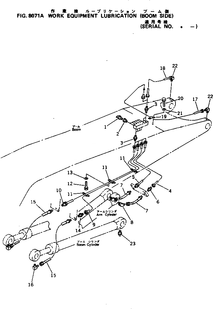
Запчасти Komatsu PC1000LC-1 РАБОЧЕЕ ОБОРУДОВАНИЕ СМАЗКА (СТРЕЛА)(№8-) РАБОЧЕЕ ОБОРУДОВАНИЕ (ПОГРУЗ.)

Схема запчастей Komatsu PC1000LC-1 - РАБОЧЕЕ ОБОРУДОВАНИЕ СМАЗКА (СТРЕЛА)(№8-) РАБОЧЕЕ ОБОРУДОВАНИЕ (ПОГРУЗ.)
FIT
1:1
100%

Артикул

Название

Примечание

Количество

G-1

21N-72-X1300

BOOM LUBRICATING G.

1

07020-00675

FITTING,GREASE

2

07326-10201

ADAPTER

3

07213-51013

CONNECTOR

4

21N-72-16130

TUBE

5

21N-72-16120

TUBE

6

07213-51013

CONNECTOR

7

205-70-51360

HOSE, 540MM

8

205-70-65780

ELBOW

9

21N-72-16171

TUBE

10

21N-72-16161

TUBE

11

208-70-11450

CLIP

12

01010-50612

BOLT

13

01643-30623

WASHER

14

07213-51013

CONNECTOR

15

209-72-16580

HOSE

16

205-70-51380

ELBOW

17

21N-72-16141

TUBE

18

21N-72-16111

TUBE

19

07282-11048

CLAMP

20

01010-50612

BOLT

21

01643-30623

WASHER

22

209-72-16140

ELBOW

23

07020-00000

FITTING,GREASE

Выбрано товаров: 24