Запчасти Komatsu PC1000LC-1 ЦИЛИНДР РУКОЯТИТРУБЫ (/) (ДЛЯ ПОГРУЗ.) (СТРЕЛА) РАБОЧЕЕ ОБОРУДОВАНИЕ (ПОГРУЗ.)

Схема запчастей Komatsu PC1000LC-1 - ЦИЛИНДР РУКОЯТИТРУБЫ (/) (ДЛЯ ПОГРУЗ.) (СТРЕЛА) РАБОЧЕЕ ОБОРУДОВАНИЕ (ПОГРУЗ.)
FIT
1:1
100%

Артикул

Название

Примечание

Количество

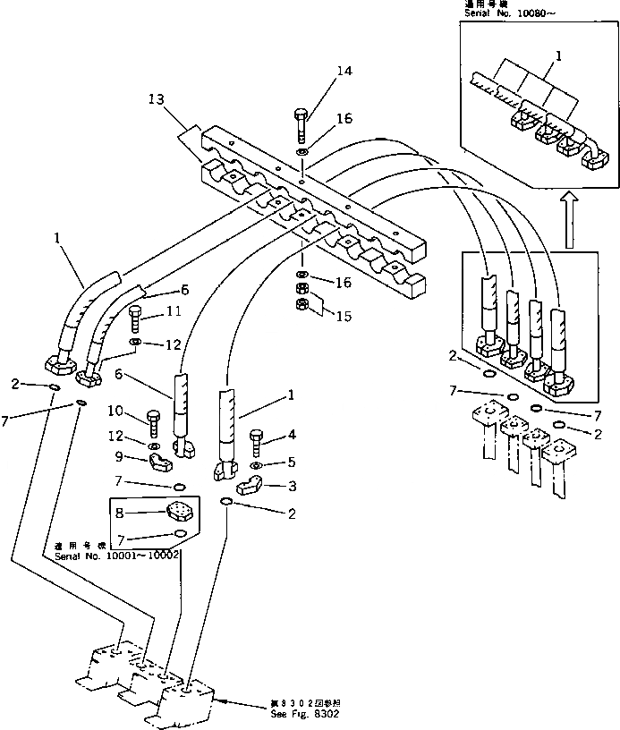
G-1

21N-62-X2100

BOOM PIPING GROUP

1

07097-01433

HOSE

1

07099-01432

HOSE

2

07000-13048

O-RING

3

07371-51470

FLANGE

4

01010-51455

BOLT

5

01643-31445

WASHER

6

07097-01233

HOSE

6

07099-01232

HOSE

7

07000-13038

O-RING

7

07000-13038

O-RING

8

21N-62-13810

FLANGE

9

07371-51260

FLANGE

10

01010-51245

BOLT

10

01010-51255

BOLT

11

01010-51245

BOLT

12

01643-31232

WASHER

13

21N-62-13172

CLAMP

13

21N-62-13171

CLAMP

14

01011-51035

BOLT

15

01580-11008

NUT

16

01678-21029

WASHER

Выбрано товаров: 22