Запчасти Komatsu PC1000LC-1 ЦИЛИНДР РУКОЯТИТРУБЫ (/) (ДЛЯ ПОГРУЗ.) (СТРЕЛА) РАБОЧЕЕ ОБОРУДОВАНИЕ (ПОГРУЗ.)

Схема запчастей Komatsu PC1000LC-1 - ЦИЛИНДР РУКОЯТИТРУБЫ (/) (ДЛЯ ПОГРУЗ.) (СТРЕЛА) РАБОЧЕЕ ОБОРУДОВАНИЕ (ПОГРУЗ.)
FIT
1:1
100%

Артикул

Название

Примечание

Количество

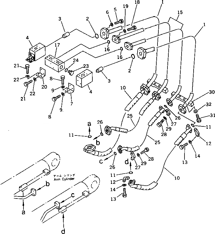
G-1

21N-62-X2100

BOOM PIPING GROUP

1

21N-62-13181

TUBE

2

07000-13048

O-RING

3

21N-62-13780

POPPET

4

21N-62-13770

BLOCK

5

01010-51450

BOLT

6

01643-31445

WASHER

7

21N-62-13790

BRACKET

8

01010-51225

BOLT

9

01643-31232

WASHER

10

07097-01414

HOSE

11

07000-13048

O-RING

12

07371-51470

FLANGE

13

01010-51455

BOLT

14

01643-31445

WASHER

15

21N-62-13191

TUBE

16

07000-13038

O-RING

17

21N-62-13762

BLOCK

17

21N-62-13761

BLOCK

18

01010-51245

BOLT

19

01643-31232

WASHER

20

21N-62-13790

BRACKET

21

01010-51225

BOLT

22

01643-31232

WASHER

23

706-77-71670

PLUG

24

07002-13034

O-RING

25

07097-01212

HOSE

26

07000-13038

O-RING

27

07371-51260

FLANGE

28

01010-51245

BOLT

29

01643-31232

WASHER

30

21N-62-13690

CLAMP

31

01010-51260

BOLT

32

01643-31232

WASHER

Выбрано товаров: 34