Запчасти Komatsu PC1000SE-1 КАПОТ ЧАСТИ КОРПУСА

Схема запчастей Komatsu PC1000SE-1 - КАПОТ ЧАСТИ КОРПУСА
FIT
1:1
100%

Артикул

Название

Примечание

Количество

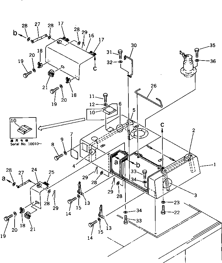
1

21N-54-11112

HOOD

|1

21N-54-11111

HOOD

2

21N-54-11180

SEAL

3

21N-54-11190

SEAL

4

21N-54-11151

SEAL

|4

21N-54-11150

SEAL

5

21N-54-11161

SEAL

|5

21N-54-11160

SEAL

6

21N-54-11141

SEAL

|6

21N-54-11140

SEAL

7

21N-54-11130

COVER

8

01010-51230

BOLT

9

01643-31232

WASHER

10

21N-54-11241

COVER

|10

21N-54-11240

COVER

11

01010-51230

BOLT

12

01643-31232

WASHER

13

205-54-76530

CATCHER

14

01010-50825

BOLT

15

01643-30823

WASHER

16

209-54-53121

COVER

17

205-54-64160

HINGE (WELDED)

18

205-54-67660

SUPPORT

19

01010-50825

BOLT

20

01643-30823

WASHER

21

209-54-12280

HANDLE

22

01010-51230

BOLT

23

01643-31232

WASHER

24

21N-54-11230

COVER

25

205-54-64160

HINGE (WELDED)

26

208-54-12210

BAR,TORSION

27

209-54-53151

STAY

28

01643-31645

WASHER

29

04050-14028

PIN,COTTER

30

21N-54-11170

RAIL,HAND

31

01010-51230

BOLT

32

01643-31232

WASHER

33

01010-51230

BOLT

34

01643-31232

WASHER

35

01010-51235

BOLT

|35

01010-51230

BOLT

36

01643-31232

WASHER

Выбрано товаров: 42