Запчасти Komatsu PC1000SE-1 ЭЛЕКТРИКА (ЭЛЕКТРОПРОВОДКА) (/) (ДЛЯ ПОГРУЗ.) (С -POSITIONАВТОМАТИЧ. COMPENSATION) (ДЛЯ ЯПОН.) КОМПОНЕНТЫ ДВИГАТЕЛЯ И ЭЛЕКТРИКА

Схема запчастей Komatsu PC1000SE-1 - ЭЛЕКТРИКА (ЭЛЕКТРОПРОВОДКА) (/) (ДЛЯ ПОГРУЗ.) (С -POSITION АВТОМАТИЧ. COMPENSATION) (ДЛЯ ЯПОН.) КОМПОНЕНТЫ ДВИГАТЕЛЯ И ЭЛЕКТРИКА
FIT
1:1
100%

Артикул

Название

Примечание

Количество

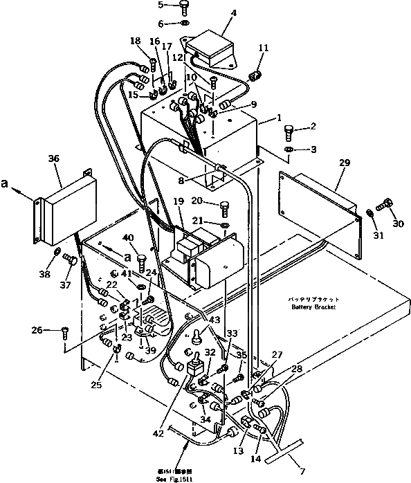
1

21N-06-11290

COVER

2

01010-51020

BOLT

3

01643-31032

WASHER

4

21N-06-11111

CONTROL BOX ASS'Y

5

01010-51025

BOLT

6

01643-31032

WASHER

7

21N-06-11216

WIRING HARNESS

|7

21N-06-11215

WIRING HARNESS

|7

21N-06-11214

WIRING HARNESS

|7

21N-06-11213

WIRING HARNESS

|7

21N-06-11212

WIRING HARNESS

8

08036-01014

CLIP

9

08052-02711

CLIP

10

08052-01711

CLIP

11

21N-06-11340

WIRING HARNESS

12

01220-40616

SCREW

13

08052-01711

CLIP

14

01220-40616

SCREW

15

08052-02411

CLIP

16

08052-01911

CLIP

17

08052-01711

CLIP

18

01220-40616

SCREW

19

600-815-4300

CONTROL UNIT ASS'Y

20

01010-51025

BOLT

21

01643-31032

WASHER

22

08052-02411

CLIP

23

08052-02711

CLIP

24

01220-40616

SCREW

25

08052-01711

CLIP

26

01220-40616

SCREW

27

08052-02411

CLIP

28

01220-40616

SCREW

G-1

21N-06-X3000

AUTO COMPENSATION G.

29

7827-45-1000

CONTROL BOX

30

01010-51025

BOLT

31

01643-31032

WASHER

32

08052-02711

CLIP

33

01220-40616

SCREW

34

08052-02411

CLIP

35

01220-40616

SCREW

G-2

21N-60-X1000

OLSS GROUP,3-STAGE SELECT MODE

36

7827-50-1001

CONTROL BOX ASS'Y

37

01010-51020

BOLT

38

01643-31032

WASHER

39

7827-11-1500

RESISTOR

40

01010-50820

BOLT

41

01643-30823

WASHER

42

205-06-71890

SWITCH

43

203-06-41610

CAP

Выбрано товаров: 0