Запчасти Komatsu PC1000SE-1 ГИДР. НАСОС. NO. (ПЕРЕДН. СЕРВОКЛАПАН) (8/) (С -STAGE SELECTOR MODE OLSS)(№-) УПРАВЛ-Е РАБОЧИМ ОБОРУДОВАНИЕМ

Схема запчастей Komatsu PC1000SE-1 - ГИДР. НАСОС. NO. (ПЕРЕДН. СЕРВОКЛАПАН) (8/) (С -STAGE   SELECTOR MODE OLSS)(№-) УПРАВЛ-Е РАБОЧИМ ОБОРУДОВАНИЕМ
FIT
1:1
100%

Артикул

Название

Примечание

Количество

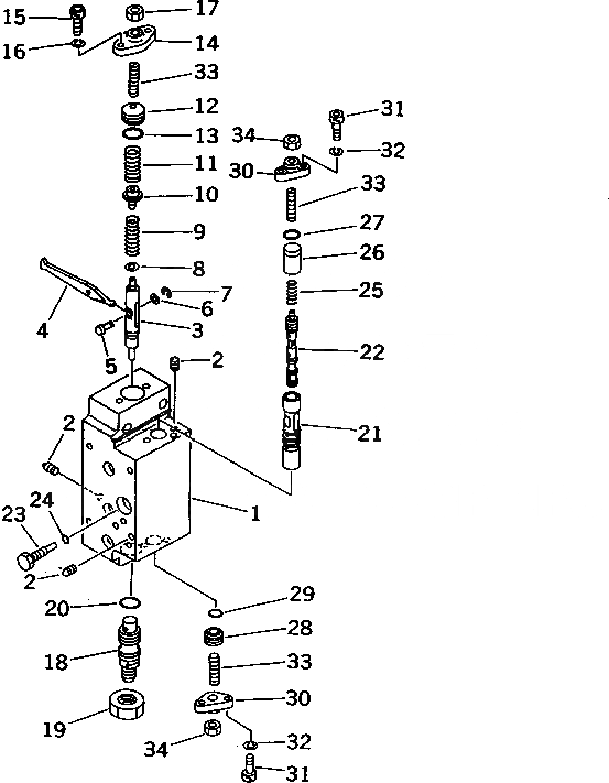
|1

708-27-04090

HYDRAULIC PUMP ASS'Y

|1

708-27-08190

SERVO VALVE ASS'Y,FRONT

|1

708-27-08390

SERVO VALVE SUB A.,FRONT

|1

708-23-07021

BODY ASS'Y

1

BODY

2

EXPANDER

3

708-25-15120

PISTON

4

708-67-16260

ARM

5

708-25-15360

PIN

6

708-25-15370

WASHER,COTTER

7

708-25-15380

E-RING

8

708-27-25130

SEAT

9

708-27-25110

SPRING

10

708-23-15120

SEAT

11

708-27-25120

SPRING

12

708-23-15160

PLUG

13

07000-02018

O-RING

14

708-25-15150

COVER

15

708-25-15320

BOLT

16

01602-20619

WASHER,SPRING

17

01580-10806

NUT

18

708-25-55170

PLUG

19

07239-12009

NUT

20

07002-02034

O-RING

21

708-25-15180

SLEEVE

22

708-25-15280

SPOOL

23

708-25-15260

PLUG

24

07002-00823

O-RING

25

708-25-15310

SPRING

26

708-25-15330

SPACER

27

07000-02012

O-RING

28

708-25-15430

PLUG

29

07000-02012

O-RING

30

708-25-15250

COVER

31

708-25-15320

BOLT

32

01602-20619

WASHER,SPRING

33

708-25-15340

SCREW

34

01580-10806

NUT

Выбрано товаров: 38