Запчасти Komatsu PC1000SE-1 ПРЯМ. ГИДРОЛИНИЯ ХОДА(/) (АВТОМ. ЗАМЕДЛЕНИЕ ОБОРОТОВ)(№-) УПРАВЛ-Е РАБОЧИМ ОБОРУДОВАНИЕМ

Схема запчастей Komatsu PC1000SE-1 - ПРЯМ. ГИДРОЛИНИЯ ХОДА(/) (АВТОМ. ЗАМЕДЛЕНИЕ ОБОРОТОВ)(№-) УПРАВЛ-Е РАБОЧИМ ОБОРУДОВАНИЕМ
FIT
1:1
100%

Артикул

Название

Примечание

Количество

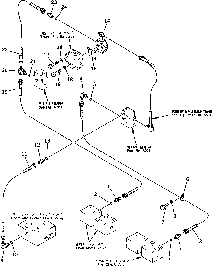
1

175-79-82720

NIPPLE

2

07002-02034

O-RING

3

07102-20206

HOSE

4

07235-10210

ELBOW

5

07002-01423

O-RING

6

08036-03014

CLIP

7

01010-51225

BOLT

8

01643-31232

WASHER

9

20N-63-66190

ELBOW

10

07002-02034

O-RING

11

07102-20207

HOSE

12

07230-20210

UNION

13

07002-01423

O-RING

14

21N-62-17540

TUBE

15

07000-02010

O-RING

16

01010-50820

BOLT

17

01010-50880

BOLT

18

01643-30823

WASHER

G-1

21N-43-X1000

AUTO DECELERATION G.

19

07102-20204

HOSE

20

208-26-11611

TEE

21

07002-01423

O-RING

22

07102-10203

HOSE

23

07230-10210

UNION

24

07002-01423

O-RING

Выбрано товаров: 0