Запчасти Komatsu PC1000SE-1 ЭЛЕКТРИКА (ЭЛЕКТРОПРОВОДКА) (/) (ДЛЯ ПОГРУЗ.) (С -POSITIONАВТОМАТИЧ. COMPENSATION)(№78-) КОМПОНЕНТЫ ДВИГАТЕЛЯ И ЭЛЕКТРИКА

Схема запчастей Komatsu PC1000SE-1 - ЭЛЕКТРИКА (ЭЛЕКТРОПРОВОДКА) (/) (ДЛЯ ПОГРУЗ.) (С -POSITION  АВТОМАТИЧ. COMPENSATION)(№78-) КОМПОНЕНТЫ ДВИГАТЕЛЯ И ЭЛЕКТРИКА
FIT
1:1
100%

Артикул

Название

Примечание

Количество

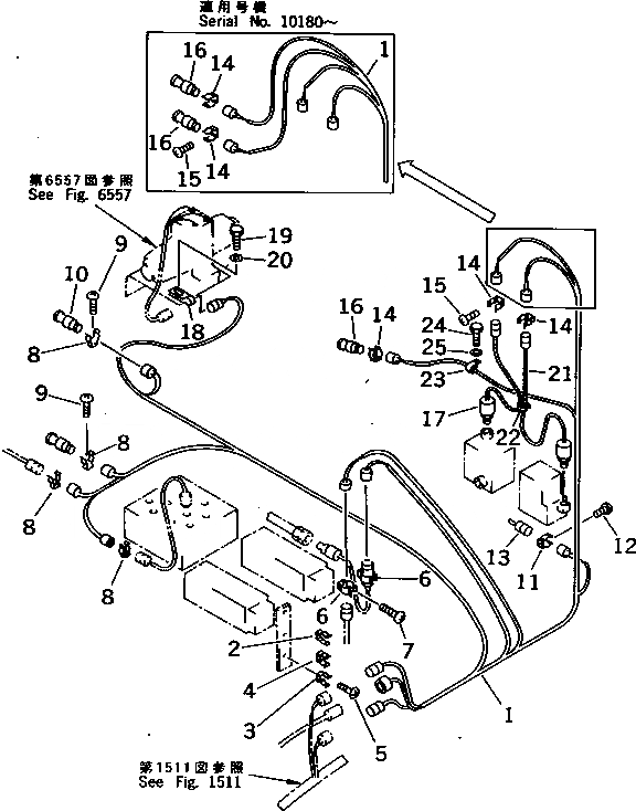
1

21N-06-11252

WIRING HARNESS

|1

21N-06-11251

WIRING HARNESS

2

08052-02711

CLIP

3

08052-02411

CLIP

4

08052-01711

CLIP

5

01220-40616

SCREW

6

08052-01711

CLIP

7

01220-40616

SCREW

8

08052-01711

CLIP

9

01220-40616

SCREW

10

195-06-41740

PLUG

11

08052-01711

CLIP

12

01220-40616

SCREW

13

21N-06-11340

WIRING HARNESS

14

08052-01711

CLIP

|14

08052-01711

CLIP

15

01220-40616

SCREW

|15

01220-40616

SCREW

16

195-06-41740

PLUG

|16

195-06-41740

PLUG

17

205-06-71841

SWITCH

18

195-06-41820

CLIP

19

01010-51220

BOLT

20

01643-31232

WASHER

G-1

21N-06-X4000

AUTO COMPENSATION G.

21

205-06-71841

SWITCH

22

08034-00519

BAND

23

08036-00814

CLIP

24

01010-51020

BOLT

25

01643-31032

WASHER

Выбрано товаров: 30