Запчасти Komatsu PC1000SE-1 ГИДР. НАСОС. ДРЕНАЖН. ТРУБЫ (МОРОЗОУСТОЙЧИВ. СПЕЦИФИКАЦИЯ СПЕЦ-Я.) УПРАВЛ-Е РАБОЧИМ ОБОРУДОВАНИЕМ

Схема запчастей Komatsu PC1000SE-1 - ГИДР. НАСОС. ДРЕНАЖН. ТРУБЫ (МОРОЗОУСТОЙЧИВ. СПЕЦИФИКАЦИЯ СПЕЦ-Я.) УПРАВЛ-Е РАБОЧИМ ОБОРУДОВАНИЕМ
FIT
1:1
100%

Артикул

Название

Примечание

Количество

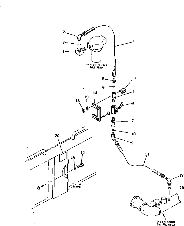
G-1

21N-977-X300

COLDWEATHER PARTS G.

1

21N-62-19220

TEE

2

07235-10628

ELBOW

3

07002-02434

O-RING

4

07102-20605

HOSE

5

07230-20628

UNION

6

07002-02434

O-RING

7

207-62-32510

ADAPTER

8

208-62-19140

VALVE

9

07236-10628

ELBOW

10

07002-02434

O-RING

11

07102-20605

HOSE

12

07235-10628

ELBOW

13

07002-02434

O-RING

14

209-62-59210

BRACKET

15

01010-51230

BOLT

16

01643-31232

WASHER

17

07283-23442

CLIP

18

01599-01011

NUT

19

01643-31032

WASHER

20

208-00-14390

PLATE¤ CAUTION

Выбрано товаров: 21