Запчасти Komatsu PC1000SE-1 СМАЗ. GUN УПРАВЛ-Е РАБОЧИМ ОБОРУДОВАНИЕМ

Схема запчастей Komatsu PC1000SE-1 - СМАЗ. GUN УПРАВЛ-Е РАБОЧИМ ОБОРУДОВАНИЕМ
FIT
1:1
100%

Артикул

Название

Примечание

Количество

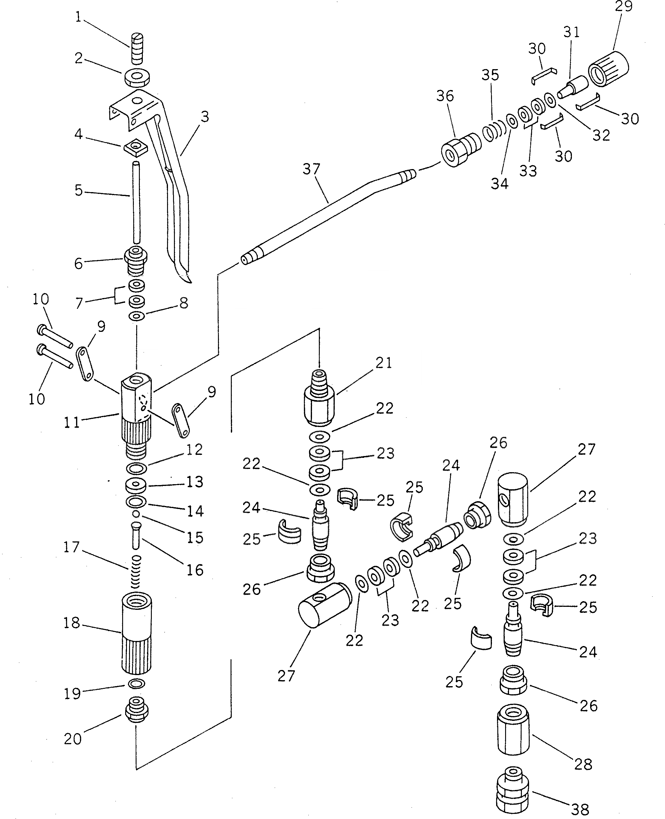
G-1

21N-68-X1001

GREASE PUMP GROUP

G-1

21N-68-X1000

GREASE PUMP GROUP

|1

209-68-11230

GREASE GUN ASS'Y

1

YU703074

BOLT

2

YU627293

NUT

3

YU703087

LEVER

4

YU703075

NUT

5

YU703078

ROD

6

YU703077

NUT

7

YU770309

PACKING

8

YU702990

PLATE

9

YU703076

LINK

10

YU633387

PIN

11

YU703079

GUN

12

YU703080

WASHER

13

YU703081

SEAT,VALVE

14

YU703082

WASHER

15

YU630314

BALL

16

YU703084

HOLDER

17

YU703083

SPRING

18

YU703549

UNION

19

YU703085

WASHER

20

YU703086

UNION

21

YU703325

UNION

22

YU702990

PLATE

23

YU770309

PACKING

24

YU702988

NIPPLE

25

YU702043

TOOTH

26

YU702042

NUT

27

YU703326

JOINT

28

YU702989

NUT

29

YU702449

COVER

30

YU702450

TOOTH

31

YU702451

NOZZLE

32

YU702452

WASHER

33

YU770263

PACKING

34

YU702454

WASHER

35

YU702453

SPRING

36

YU702468

BODY

37

YU702398

NOZZLE

38

209-68-51220

ADAPTER

Выбрано товаров: 41