Запчасти Komatsu PC1000SE-1 МАРКИРОВКА (ШАССИ) (ДЛЯ ЯПОН.)(№-) МАРКИРОВКА¤ ИНСТРУМЕНТ И РЕМКОМПЛЕКТЫ

Схема запчастей Komatsu PC1000SE-1 - МАРКИРОВКА (ШАССИ) (ДЛЯ ЯПОН.)(№-) МАРКИРОВКА¤ ИНСТРУМЕНТ И РЕМКОМПЛЕКТЫ
FIT
1:1
100%

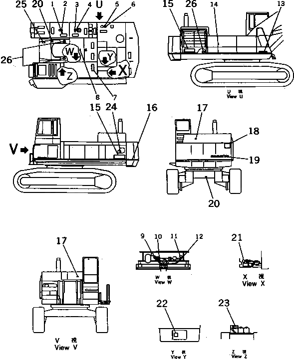
Артикул

Название

Примечание

Количество

1

09669-00002

PLATE¤ CAUTION,FUEL

2

09101-00100

PLATE¤ INSTRUCTION,FUEL

3

203-00-61160

PLATE¤ SAFETY,CAP

4

09669-00003

PLATE¤ CAUTION,HYDRAULIC OIL

5

14X-98-11141

PLATE¤ SAFETY,RADIATOR CAP

6

09650-01101

PLATE¤ INSTRUCTION,WATER LEVEL

7

154-54-23260

SEAT

8

209-00-11490

PLATE¤ CAUTION

9

09659-50100

PLATE¤ SAFETY

|9

09659-40100

PLATE¤ SAFETY,ACCUMULATOR

10

209-00-51270

PLATE¤ MARK,STOP VALVE

11

21N-00-11170

PLATE¤ CAUTION,AIR DRAIN

12

21N-00-11280

PLATE¤ NAME

13

09690-C0315

PLATE¤ MARK

14

205-00-73360

PLATE¤ OPERATING

15

21N-00-11121

PLATE¤ MARK,(PC1000)

|15

21N-00-11341

PLATE¤ MARK,(PC1000SE)

|15

21N-00-11360

PLATE¤ MARK,(PC1000SP)

16

209-00-51280

PLATE¤ MARK,STRIPE

17

09667-00100

PLATE¤ SAFETY

18

09133-20100

PLATE¤ SAFETY

19

09690-C1120

PLATE¤ MARK

20

209-00-11170

PLATE¤ CAUTION,PIPE

21

09659-50100

PLATE¤ SAFETY

|21

09659-40100

PLATE¤ SAFETY,ACCUMULATOR

22

09637-00161

PLATE¤ INSTRUCTION,AIR CLEANER

23

207-00-31380

PLATE¤ OPERATING,OLSS CONTROL

24

208-00-11830

PLATE¤ CAUTION,GEAR PUMP DRAIN

25

09690-M0063

PLATE¤ MARK

26

09960-01001

PLATE¤ MARK

Выбрано товаров: 30