Запчасти Komatsu PC1000SE-1 МЕХАНИЗМ ПОВОРОТА¤ ЗАДН. (/)(№-77) ПОВОРОТН. СИСТЕМА

Схема запчастей Komatsu PC1000SE-1 - МЕХАНИЗМ ПОВОРОТА¤ ЗАДН. (/)(№-77) ПОВОРОТН. СИСТЕМА
FIT
1:1
100%

Артикул

Название

Примечание

Количество

|1

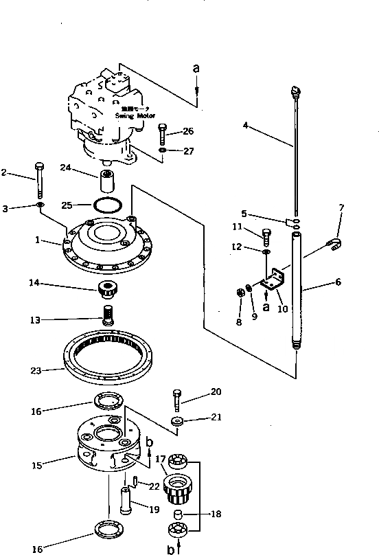
21N-26-00020

SWING MACHINERY A.

1

208-26-31122

COVER

2

01010-51695

BOLT

3

01643-31645

WASHER

4

21N-26-11150

GAUGE

5

07000-03022

O-RING

6

21N-26-11130

TUBE

7

07283-23442

CLIP

8

01599-01011

NUT

9

01643-31032

WASHER

10

21N-26-11171

BRACKET

11

01011-51230

BOLT

12

01643-31232

WASHER

13

208-26-31241

SHAFT

14

208-26-31161

GEAR

15

208-26-31131

CARRIER

16

208-26-31250

SPACER

17

208-26-00020

PLANETARY GEAR A.

|17

GEAR

18

208-26-31281

BEARING,WITH SPACER

19

208-26-31262

PIN

20

01010-51465

BOLT

21

208-26-31310

COLLAR

22

04020-00616

PIN,DOWEL

23

208-26-31141

GEAR

24

208-26-31230

COUPLING

25

07000-05150

O-RING

26

01010-52470

BOLT

27

01643-32460

WASHER

Выбрано товаров: 29