Запчасти Komatsu PC1000SE-1 ОПОРНЫЙ КАТОК ПОЛН. ЗАЩИТА ХОДОВАЯ

Схема запчастей Komatsu PC1000SE-1 - ОПОРНЫЙ КАТОК ПОЛН. ЗАЩИТА ХОДОВАЯ
FIT
1:1
100%

Артикул

Название

Примечание

Количество

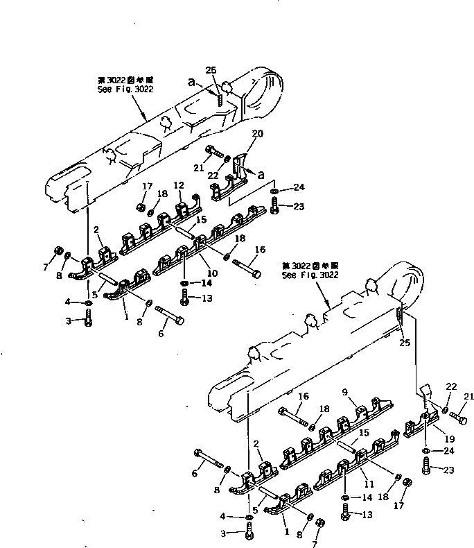
G-1

21N-30-X3300

FULL LENGTH GROUP

1

21N-30-17550

GUARD

2

21N-30-17560

GUARD

3

01010-83080

BOLT

4

01643-33080

WASHER

5

21N-30-17640

SPACER

6

198-30-37320

BOLT

7

01580-13024

NUT

8

01643-33080

WASHER

9

21N-30-17590

GUARD

10

21N-30-17610

GUARD

11

21N-30-17570

GUARD

12

21N-30-17580

GUARD

13

01010-83080

BOLT

14

01643-33080

WASHER

15

21N-30-17640

SPACER

16

198-30-37320

BOLT

17

01580-13024

NUT

18

01643-33080

WASHER

19

21N-30-17620

GUARD

20

21N-30-17630

GUARD

21

01010-52050

BOLT

22

01643-33080

WASHER

23

01010-83080

BOLT

24

01643-33080

WASHER

25

21N-30-17650

SEAT (WELDED)

Выбрано товаров: 26