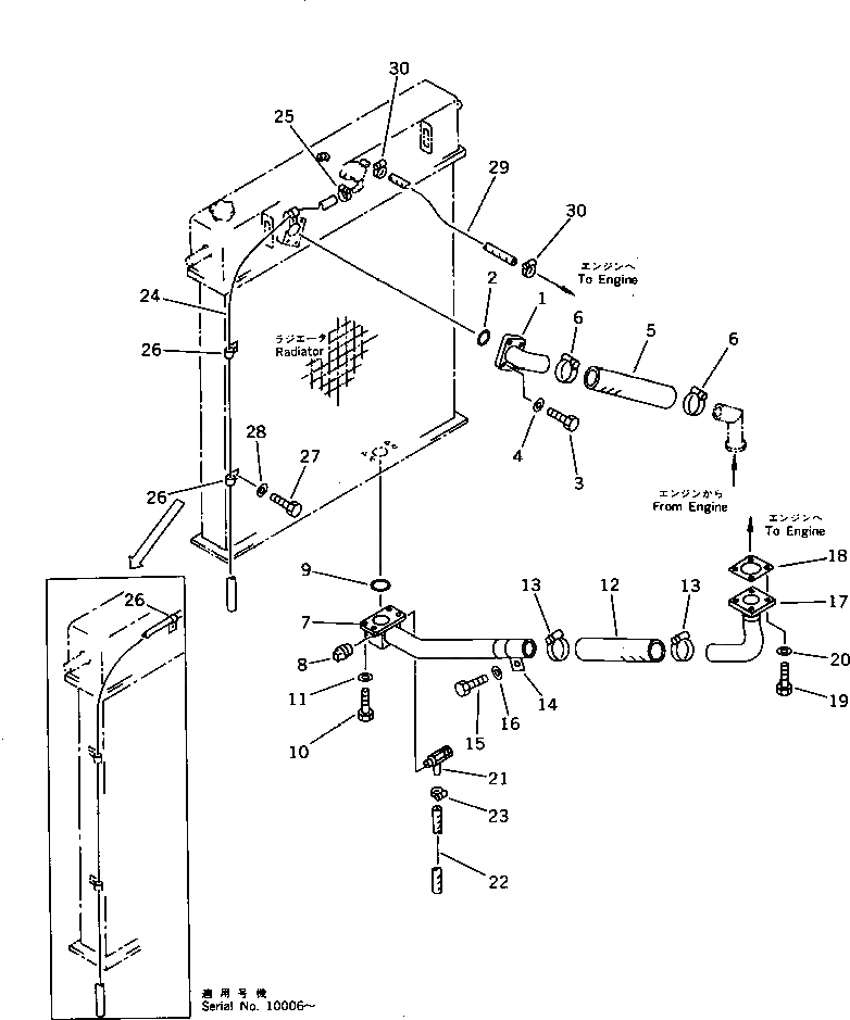
Запчасти Komatsu PC1000SE-1 СИСТЕМА ТРУБ РАДИАТОРА КОМПОНЕНТЫ ДВИГАТЕЛЯ И ЭЛЕКТРИКА

Схема запчастей Komatsu PC1000SE-1 - СИСТЕМА ТРУБ РАДИАТОРА КОМПОНЕНТЫ ДВИГАТЕЛЯ И ЭЛЕКТРИКА
FIT
1:1
100%

Артикул

Название

Примечание

Количество

1

21N-03-11190

TUBE

2

07000-62080

O-RING

3

01010-51235

BOLT

4

01643-31232

WASHER

5

175-03-41620

HOSE

6

07289-00095

CLAMP

6

20D-09-11130

CLAMP

7

21N-03-11210

TUBE

8

07042-30108

PLUG

9

07000-62080

O-RING

10

01010-51235

BOLT

11

01643-31232

WASHER

12

175-03-41620

HOSE

13

07289-00095

CLAMP

13

20D-09-11130

CLAMP

14

207-03-51530

CLIP

14

281-03-11710

CLIP

15

01010-51225

BOLT

16

01643-31232

WASHER

17

21N-03-11220

TUBE

18

195-03-41481

GASKET

18

195-03-41480

GASKET

19

01010-51030

BOLT

20

01643-31032

WASHER

21

07730-50004

VALVE

21

07730-30004

VALVE

22

175-03-31530

HOSE

23

07825-00155

CLIP

24

195-03-17880

TUBE

25

07285-00095

CLIP

26

195-03-11690

CLIP

26

195-03-11690

CLIP

27

01010-51225

BOLT

28

01643-31232

WASHER

29

07260-20971

HOSE

29

07261-20911

HOSE

30

07281-00197

CLAMP

30

07285-00150

CLIP

Выбрано товаров: 38