Запчасти Komatsu PC1000SE-1 РЫЧАГ УПРАВЛ-Я И ПОДЛОКОТНИК¤ ЛЕВ. СИСТЕМА УПРАВЛЕНИЯ И ОСНОВНАЯ РАМА

Схема запчастей Komatsu PC1000SE-1 - РЫЧАГ УПРАВЛ-Я И ПОДЛОКОТНИК¤ ЛЕВ. СИСТЕМА УПРАВЛЕНИЯ И ОСНОВНАЯ РАМА
FIT
1:1
100%

Артикул

Название

Примечание

Количество

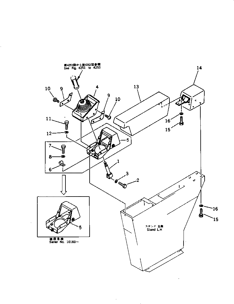
1

209-43-51412

LEVER

1

209-43-51411

LEVER

2

01010-50825

BOLT

3

01643-30823

WASHER

4

205-43-71223

BOOT

5

21N-43-11250

BOX,L.H.

6

08036-10610

CLIP

7

01010-50812

BOLT

8

01643-30823

WASHER

9

205-43-71991

COVER

10

205-43-71280

SCREW

11

01010-50820

BOLT

12

01643-30823

WASHER

13

205-43-73570

CUSHION

14

205-43-71612

COVER

15

01010-50820

BOLT

16

01643-30823

WASHER

Выбрано товаров: 17