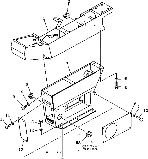
Запчасти Komatsu PC1000SE-1 УПРАВЛ-Е СТОЙКА¤ ПРАВ. СИСТЕМА УПРАВЛЕНИЯ И ОСНОВНАЯ РАМА

Схема запчастей Komatsu PC1000SE-1 - УПРАВЛ-Е СТОЙКА¤ ПРАВ. СИСТЕМА УПРАВЛЕНИЯ И ОСНОВНАЯ РАМА
FIT
1:1
100%

Артикул

Название

Примечание

Количество

1

21N-43-11220

BOX,R.H.

2

08037-02512

GROMMET

3

21N-43-11260

SCREW

4

21N-43-11270

WASHER

5

01010-51225

BOLT

6

01643-31232

WASHER

7

21N-43-11240

CASE,R.H.

8

08037-02512

GROMMET

8A

08037-03614

GROMMET

9

205-43-71673

COVER

10

01010-50820

BOLT

11

01643-30823

WASHER

12

209-43-51370

COVER

13

205-43-71280

SCREW

14

205-43-73420

WASHER

15

01010-51225

BOLT

16

01643-31232

WASHER

Выбрано товаров: 17