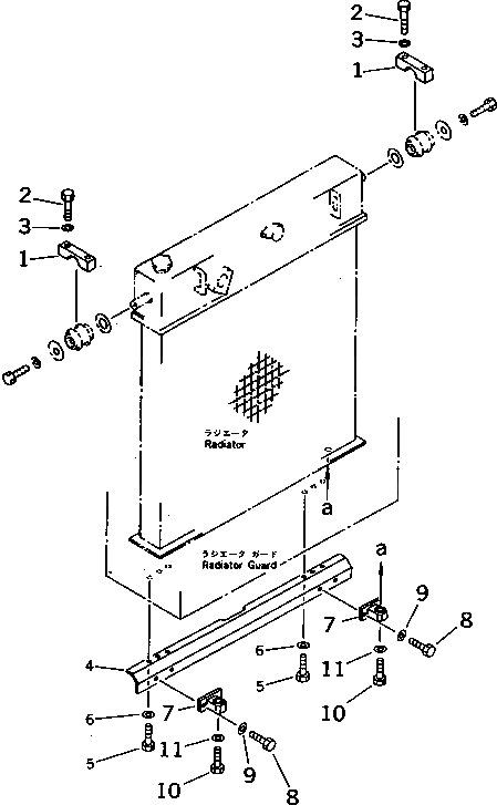
Запчасти Komatsu PC1000SE-1 КРЕПЛЕНИЕ РАДИАТОРА (С ВЫСОК. ЕМК. РАДИАТОР)(№-) КОМПОНЕНТЫ ДВИГАТЕЛЯ И ЭЛЕКТРИКА

Схема запчастей Komatsu PC1000SE-1 - КРЕПЛЕНИЕ РАДИАТОРА (С ВЫСОК. ЕМК. РАДИАТОР)(№-) КОМПОНЕНТЫ ДВИГАТЕЛЯ И ЭЛЕКТРИКА
FIT
1:1
100%

Артикул

Название

Примечание

Количество

1

209-03-51160

CLAMP

2

01010-52090

BOLT

3

01643-32060

WASHER

4

21N-03-11130

BRACKET

5

01010-51225

BOLT

6

01643-31232

WASHER

7

195-03-41200

ISOLATOR ASS'Y

8

01010-51235

BOLT

9

01643-31232

WASHER

10

01010-51670

BOLT

11

01643-31645

WASHER

Выбрано товаров: 11