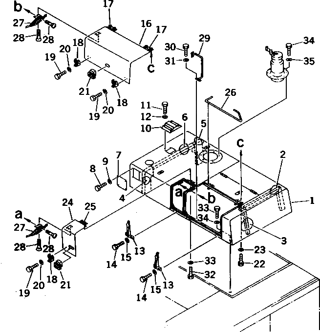
Запчасти Komatsu PC1000SE-1 КАПОТ (ДЛЯ EC)(№-) ЧАСТИ КОРПУСА

Схема запчастей Komatsu PC1000SE-1 - КАПОТ (ДЛЯ EC)(№-) ЧАСТИ КОРПУСА
FIT
1:1
100%

Артикул

Название

Примечание

Количество

1

21N-54-13510

HOOD

2

21N-54-11180

SEAL

3

21N-54-11190

SEAL

4

21N-54-11151

SEAL

5

21N-54-11161

SEAL

6

21N-54-11141

SEAL

7

21N-54-11130

COVER

8

01010-51230

BOLT

9

01643-31232

WASHER

10

21N-54-11241

COVER

11

01010-51230

BOLT

12

01643-31232

WASHER

13

205-54-76530

CATCHER

14

01010-50825

BOLT

15

01643-30823

WASHER

16

209-54-57220

COVER

17

205-54-64160

HINGE (WELDED)

18

205-54-67660

SUPPORT

19

01010-50825

BOLT

20

01643-30823

WASHER

21

209-54-12280

HANDLE

22

01010-51230

BOLT

23

01643-31232

WASHER

24

21N-54-13520

COVER

25

205-54-64160

HINGE (WELDED)

26

208-54-12210

BAR,TORSION

27

208-54-13160

STAY

28

01225-40510

SCREW

29

21N-54-11170

RAIL,HAND

30

01010-51230

BOLT

31

01643-31232

WASHER

32

01010-51230

BOLT

33

01643-31232

WASHER

34

01010-51235

BOLT

35

01643-31232

WASHER

Выбрано товаров: 35