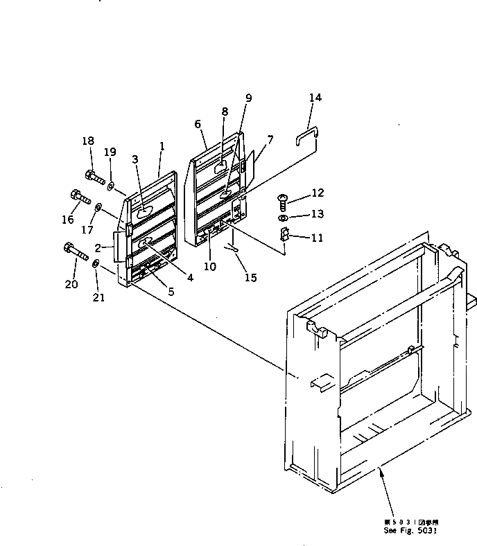
Запчасти Komatsu PC1000SE-1 ПРАВ. КРЫШКА(DUST) ЧАСТИ КОРПУСА

Схема запчастей Komatsu PC1000SE-1 - ПРАВ. КРЫШКА(DUST) ЧАСТИ КОРПУСА
FIT
1:1
100%

Артикул

Название

Примечание

Количество

1

21N-54-12120

DUCT

2

21K-54-22460

HINGE (WELDED)

3

21N-54-12130

SHEET

4

21N-54-12140

SHEET

5

21N-54-12150

SHEET

6

21N-54-12110

DUCT

7

21K-54-22460

HINGE (WELDED)

8

21N-54-12130

SHEET

9

21N-54-12140

SHEET

10

21N-54-12150

SHEET

11

20B-54-12210

SPRING

12

01220-40408

SCREW

13

01641-20405

WASHER

14

205-54-64140

BAR

15

04050-13018

PIN,COTTER

16

01010-51230

BOLT

17

01643-31232

WASHER

18

01010-51255

BOLT

19

01643-31232

WASHER

20

01011-51230

BOLT

21

01643-31232

WASHER

Выбрано товаров: 0