Запчасти Komatsu PC1000SE-1 НИЖН. КРЫШКА (ДЛЯ РАМА¤ ЛЕВ.) ЧАСТИ КОРПУСА

Схема запчастей Komatsu PC1000SE-1 - НИЖН. КРЫШКА (ДЛЯ РАМА¤ ЛЕВ.) ЧАСТИ КОРПУСА
FIT
1:1
100%

Артикул

Название

Примечание

Количество

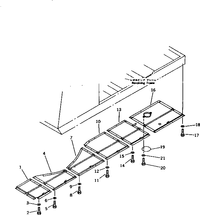
1

21N-54-12250

COVER

2

01010-51225

BOLT

3

175-54-34170

WASHER

3

01643-31232

WASHER

4

21N-54-12260

COVER

5

01010-51225

BOLT

6

175-54-34170

WASHER

6

01643-31232

WASHER

7

21N-54-12270

COVER

8

01010-51225

BOLT

9

175-54-34170

WASHER

9

01643-31232

WASHER

10

21N-54-12280

COVER

11

01010-51225

BOLT

12

175-54-34170

WASHER

12

01643-31232

WASHER

13

21N-54-12290

COVER

14

01010-51225

BOLT

15

175-54-34170

WASHER

15

01643-31232

WASHER

16

21N-54-12340

COVER

17

01010-51225

BOLT

18

175-54-34170

WASHER

18

01643-31232

WASHER

19

208-54-12710

COVER

20

01010-51225

BOLT

21

01643-31232

WASHER

Выбрано товаров: 0