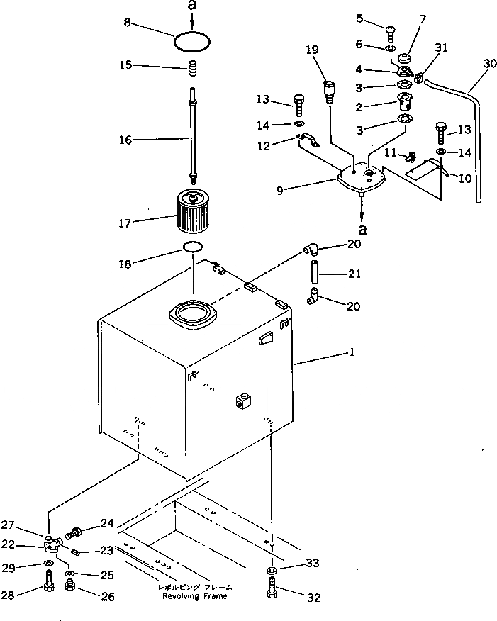
Запчасти Komatsu PC1000SE-1 ГИДРАВЛ МАСЛ. БАК (С АНТИВАНДАЛЬН.) УПРАВЛ-Е РАБОЧИМ ОБОРУДОВАНИЕМ

Схема запчастей Komatsu PC1000SE-1 - ГИДРАВЛ МАСЛ. БАК (С АНТИВАНДАЛЬН.) УПРАВЛ-Е РАБОЧИМ ОБОРУДОВАНИЕМ
FIT
1:1
100%

Артикул

Название

Примечание

Количество

|$0

21N-60-00020

HYDRAULIC TANK ASS'Y

1

21N-60-11111

TANK

2

205-60-51480

SCREEN

3

205-60-66211

GASKET

3

205-60-51460

GASKET

4

201-60-12171

FILLER NECK

5

01220-40516

SCREW

6

01601-20513

WASHER,SPRING

7

201-60-12190

CAP ASS'Y

8

07000-05230

O-RING

9

21N-60-11190

COVER

G-1

21N-54-X4300

VANDALISM GROUP

10

209-60-51140

COVER

|$14

205-60-71220

LOCK ASS'Y

11

205-54-76280

ROTOR ASS'Y

12

209-60-51150

BRACKET

13

01010-51240

BOLT

14

01643-31232

WASHER

15

12R-60-11230

SPRING

16

21N-60-11120

SUPPORT

17

209-60-51120

STRAINER

18

21N-09-11140

O-RING

19

424-U40-1120

BREATHER

20

203-60-31100

ELBOW ASS'Y

21

203-60-31160

TUBE

|$27

155-60-12500

VALVE ASS'Y

22

155-60-12510

BODY

23

04025-00532

PIN

24

155-60-12520

VALVE

25

07005-02416

SEAL, WASHER

26

07040-12412

PLUG

27

07000-03025

O-RING

28

01010-51025

BOLT

29

01643-31032

WASHER

30

566-03-11240

TUBE

31

07280-01110

CLAMP

32

01010-52060

BOLT

33

21T-01-11130

WASHER

Выбрано товаров: 38