Запчасти Komatsu PC1000SE-1 ГИДР. НАСОС. NO. (НАСОС /) (/) (С -STAGE SELECTOR MODE OLSS) УПРАВЛ-Е РАБОЧИМ ОБОРУДОВАНИЕМ

Схема запчастей Komatsu PC1000SE-1 - ГИДР. НАСОС. NO. (НАСОС /) (/) (С -STAGE SELECTOR MODE OLSS) УПРАВЛ-Е РАБОЧИМ ОБОРУДОВАНИЕМ
FIT
1:1
100%

Артикул

Название

Примечание

Количество

|$0

708-27-01084

HYDRAULIC PUMP ASS'Y

|$1

708-27-01083

HYDRAULIC PUMP ASS'Y

|$2

708-27-01082

HYDRAULIC PUMP ASS'Y

|$3

708-27-01081

HYDRAULIC PUMP ASS'Y

|$4

708-27-01080

HYDRAULIC PUMP ASS'Y,(HPV 160+160)

|$6

708-27-01283

PUMP SUB ASS'Y

|$7

708-27-01282

PUMP SUB ASS'Y

|$8

708-27-01281

PUMP SUB ASS'Y

|$9

708-27-01280

PUMP SUB ASS'Y

|$11

708-27-00250

CASE ASS'Y,REAR

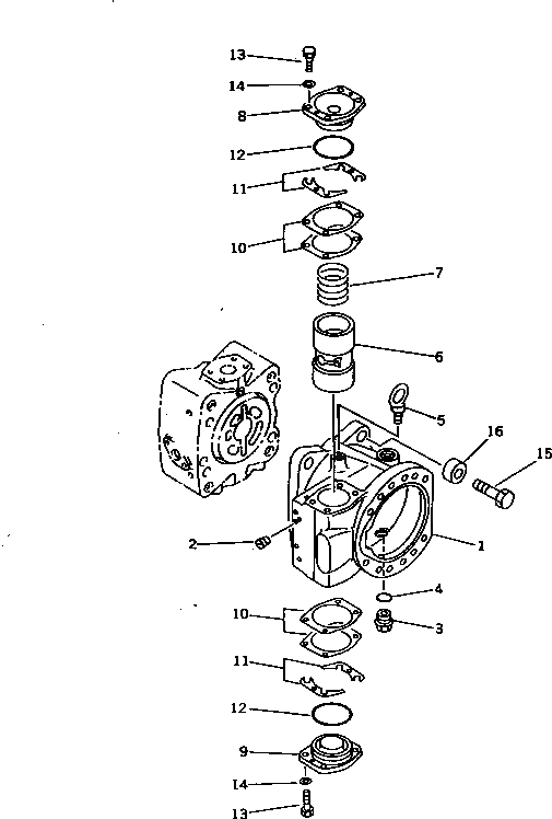
1

CASE,REAR

2

PLUG

3

07044-12412

PLUG

4

07002-02434

O-RING

5

04530-11222

BOLT,EYE

6

708-27-14110

PISTON

7

708-27-14130

SPRING

8

708-27-14150

CAP

9

708-27-14140

CAP

10

708-27-05060

SHIM KIT

10

SHIM, 0.1MM

10

SHIM, 0.2MM

10

SHIM, 0.5MM

11

708-27-14190

SHIM, 0.1MM

12

07000-02075

O-RING

13

01016-51045

BOLT

14

01643-31032

WASHER

15

01010-82075

BOLT

16

708-27-12580

WASHER

Выбрано товаров: 29