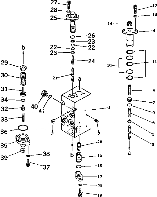
Запчасти Komatsu PC1000SE-1 ГИДР. НАСОС. NO. (ПЕРЕДН. CO И NC КЛАПАН) (9/) (С -STAGE SELECTOR MODE OLSS)(№-) УПРАВЛ-Е РАБОЧИМ ОБОРУДОВАНИЕМ

Схема запчастей Komatsu PC1000SE-1 - ГИДР. НАСОС. NO. (ПЕРЕДН. CO И NC КЛАПАН) (9/) (С -STAGE SELECTOR MODE OLSS)(№-) УПРАВЛ-Е РАБОЧИМ ОБОРУДОВАНИЕМ
FIT
1:1
100%

Артикул

Название

Примечание

Количество

|$0

708-27-04090

HYDRAULIC PUMP ASS'Y

|$2

708-27-08190

SERVO VALVE ASS'Y,FRONT

|$4

708-27-08590

VALVE ASS'Y,CO AND NC

|$5

708-23-00430

BODY ASS'Y

1

BODY

2

EXPANDER

3

708-25-17141

SPOOL

4

708-25-17131

COVER

5

708-25-17180

SEAT

6

708-25-17690

SPRING

7

708-25-17460

PLUG

8

708-25-17430

SCREW

9

07000-02010

O-RING

10

07000-12021

O-RING

11

07001-02021

RING,BACK-UP

12

708-25-15320

BOLT

13

01602-20619

WASHER,SPRING

14

01580-10806

NUT

15

708-25-17150

SLEEVE

16

708-25-17160

PISTON

17

708-25-17170

COVER

18

07000-02014

O-RING

19

708-25-15320

BOLT

20

01602-20619

WASHER,SPRING

21

708-25-17141

SPOOL

22

07000-12012

O-RING

23

07001-02012

RING,BACK-UP

24

708-25-17220

PISTON

25

708-25-17451

SLEEVE

26

07000-02012

O-RING

27

708-25-15320

BOLT

28

01602-20619

WASHER,SPRING

29

708-25-17370

SEAT

30

708-25-17250

SPRING

31

708-25-17260

SEAT

32

708-25-17410

PLUG

33

708-25-15340

SCREW

34

07000-01009

O-RING

35

708-25-17350

COVER

36

07000-03028

O-RING

37

708-25-15320

BOLT

38

01602-20619

WASHER,SPRING

39

01580-10806

NUT

40

07040-11007

PLUG

41

07002-01023

O-RING

Выбрано товаров: 45