Запчасти Komatsu PC1000SE-1 ЭЛЕКТРИКА (ЭЛЕКТРОПРОВОДКА) (/) (ДЛЯ ПОГРУЗ.) (КРОМЕ ЯПОН.)(№78-) КОМПОНЕНТЫ ДВИГАТЕЛЯ И ЭЛЕКТРИКА

Схема запчастей Komatsu PC1000SE-1 - ЭЛЕКТРИКА (ЭЛЕКТРОПРОВОДКА) (/) (ДЛЯ ПОГРУЗ.) (КРОМЕ ЯПОН.)(№78-) КОМПОНЕНТЫ ДВИГАТЕЛЯ И ЭЛЕКТРИКА
FIT
1:1
100%

Артикул

Название

Примечание

Количество

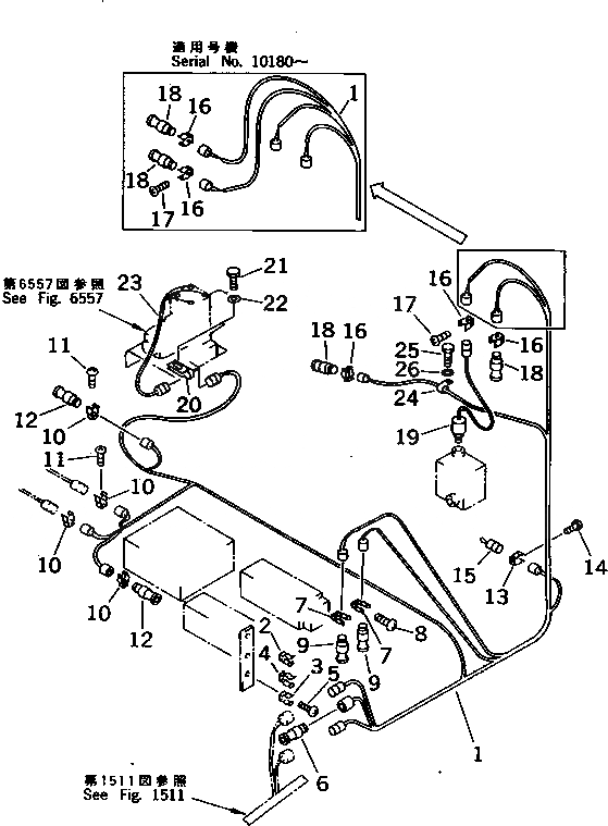
1

21N-06-11252

WIRING HARNESS

1

21N-06-11251

WIRING HARNESS

2

08052-02711

CLIP

3

08052-02411

CLIP

4

08052-01711

CLIP

5

01220-40616

SCREW

6

195-06-41740

PLUG

7

08052-01711

CLIP

8

01220-40616

SCREW

9

195-06-41740

PLUG

10

08052-01711

CLIP

11

01220-40616

SCREW

12

195-06-41740

PLUG

13

08052-01711

CLIP

14

01220-40616

SCREW

15

21N-06-11340

WIRING HARNESS

16

08052-01711

CLIP

16

08052-01711

CLIP

17

01220-40616

SCREW

17

01220-40616

SCREW

18

195-06-41740

PLUG

18

195-06-41740

PLUG

19

205-06-71841

SWITCH

20

195-06-41820

CLIP

21

01010-51220

BOLT

22

01643-31232

WASHER

G-1

21N-72-X1000

BOTTOM DUMP GROUP

23

209-06-51250

WIRING HARNESS

24

08036-00814

CLIP

25

01010-51020

BOLT

26

01643-31032

WASHER

Выбрано товаров: 0