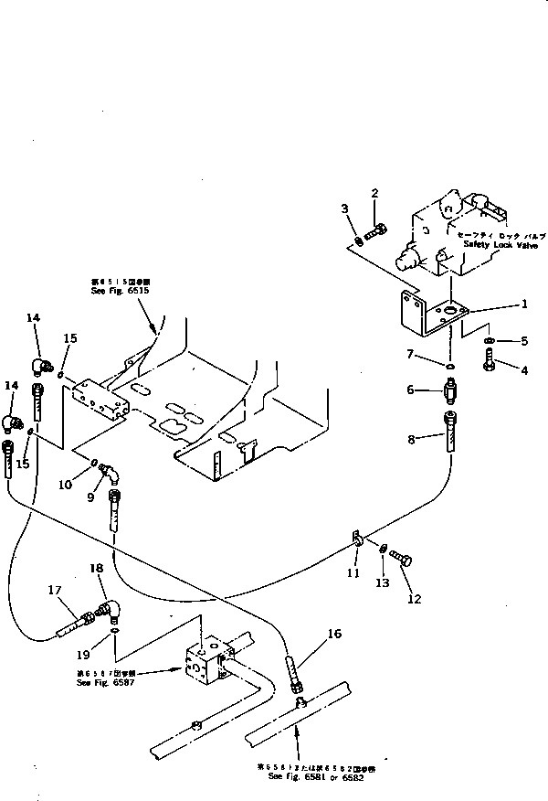
Запчасти Komatsu PC1000SE-1 СОЛЕНОИДНЫЙ КЛАПАН БЛОК ТРУБЫ УПРАВЛ-Е РАБОЧИМ ОБОРУДОВАНИЕМ

Схема запчастей Komatsu PC1000SE-1 - СОЛЕНОИДНЫЙ КЛАПАН БЛОК ТРУБЫ УПРАВЛ-Е РАБОЧИМ ОБОРУДОВАНИЕМ
FIT
1:1
100%

Артикул

Название

Примечание

Количество

1

21N-62-17390

BRACKET

2

01010-51235

BOLT

3

01643-31232

WASHER

4

01010-51230

BOLT

5

01643-31232

WASHER

6

22T-61-15290

NIPPLE

6

205-62-55281

NIPPLE

7

07002-01423

O-RING

8

07102-20212

HOSE

9

07236-10210

ELBOW

10

07002-01423

O-RING

11

08036-01414

CLIP

12

01010-51225

BOLT

13

01643-31232

WASHER

14

07235-10315

ELBOW

15

07002-02034

O-RING

16

07102-20311

HOSE

17

07102-20305

HOSE

18

07235-10315

ELBOW

19

07002-02034

O-RING

Выбрано товаров: 20