Запчасти Komatsu PC1000SE-1 СТРЕЛА COMPENSATE ТРУБЫ (ДЛЯ ПОГРУЗ.) (/) (С -POSITION АВТОМАТИЧ. COMPENSATION) УПРАВЛ-Е РАБОЧИМ ОБОРУДОВАНИЕМ

Схема запчастей Komatsu PC1000SE-1 - СТРЕЛА COMPENSATE ТРУБЫ (ДЛЯ ПОГРУЗ.) (/) (С -POSITION АВТОМАТИЧ. COMPENSATION) УПРАВЛ-Е РАБОЧИМ ОБОРУДОВАНИЕМ
FIT
1:1
100%

Артикул

Название

Примечание

Количество

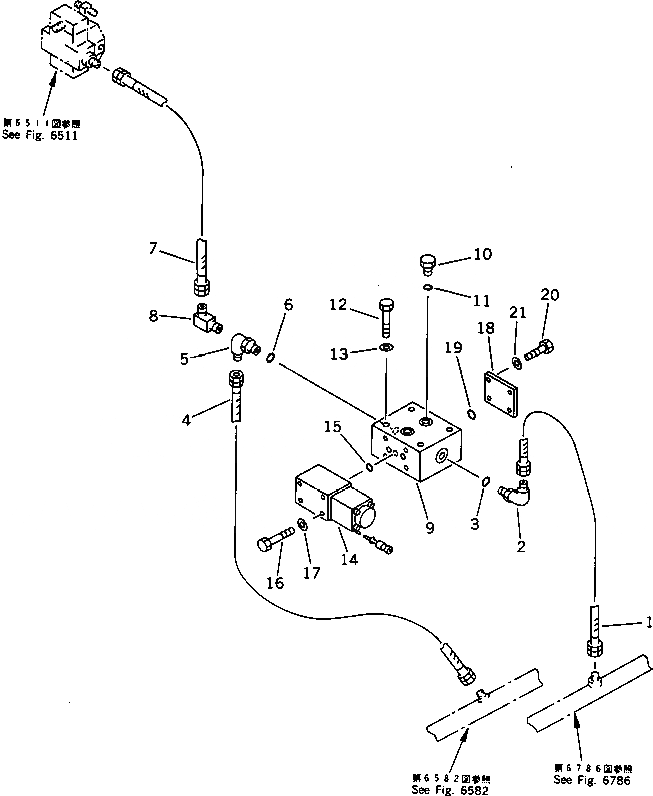
G-1

21N-06-X3000

AUTO COMPENSATION G.

1

07102-20508

HOSE

2

07235-10522

ELBOW

3

07002-02434

O-RING

4

07102-20504

HOSE

5

07235-50522

ELBOW

6

07002-02434

O-RING

7

07102-20207

HOSE

8

209-62-57750

ELBOW

9

209-62-57620

BLOCK

10

07040-12012

PLUG

11

07002-02034

O-RING

12

01252-41280

BOLT

13

01643-51232

WASHER

14

702-21-51100

VALVE ASS'Y

15

07000-02010

O-RING

16

01010-50875

BOLT

17

01643-30823

WASHER

18

209-62-57930

PLATE

19

07000-02010

O-RING

20

01010-50825

BOLT

21

01643-30823

WASHER

Выбрано товаров: 22