Запчасти Komatsu PC1000SE-1 КОВШ ANGLE COMPENSATE ТРУБЫ (ДЛЯ ПОГРУЗ.) (С -POSITION АВТОМАТИЧ. COMPENSATION) УПРАВЛ-Е РАБОЧИМ ОБОРУДОВАНИЕМ

Схема запчастей Komatsu PC1000SE-1 - КОВШ ANGLE COMPENSATE ТРУБЫ (ДЛЯ ПОГРУЗ.) (С -POSITION АВТОМАТИЧ. COMPENSATION) УПРАВЛ-Е РАБОЧИМ ОБОРУДОВАНИЕМ
FIT
1:1
100%

Артикул

Название

Примечание

Количество

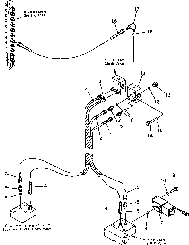
G-1

21N-06-X4000

AUTO COMPENSATION G.

|$2

21N-62-17880

HOSE ASS'Y

1

07102-20309

HOSE,(BROWN)

2

07102-20309

HOSE,(GREEN)

3

07102-20308

HOSE

4

07102-20307

HOSE,(WHITE)

5

07230-20315

UNION

5

07230-10315

UNION

6

07002-02034

O-RING

7

702-21-51100

VALVE ASS'Y

8

07000-02010

O-RING

9

01010-50875

BOLT

10

01643-30823

WASHER

11

702-19-15000

CHECK VALVE ASS'Y

12

07040-12012

PLUG

13

07002-02034

O-RING

14

01010-51075

BOLT

15

01643-31032

WASHER

16

07102-20306

HOSE

17

07235-10315

ELBOW

18

07002-02034

O-RING

Выбрано товаров: 21