Запчасти Komatsu PC1000SE-1 НАСОС СМАЗКИ И КОМПОНЕНТЫ(№-) УПРАВЛ-Е РАБОЧИМ ОБОРУДОВАНИЕМ

Схема запчастей Komatsu PC1000SE-1 - НАСОС СМАЗКИ И КОМПОНЕНТЫ(№-) УПРАВЛ-Е РАБОЧИМ ОБОРУДОВАНИЕМ
FIT
1:1
100%

Артикул

Название

Примечание

Количество

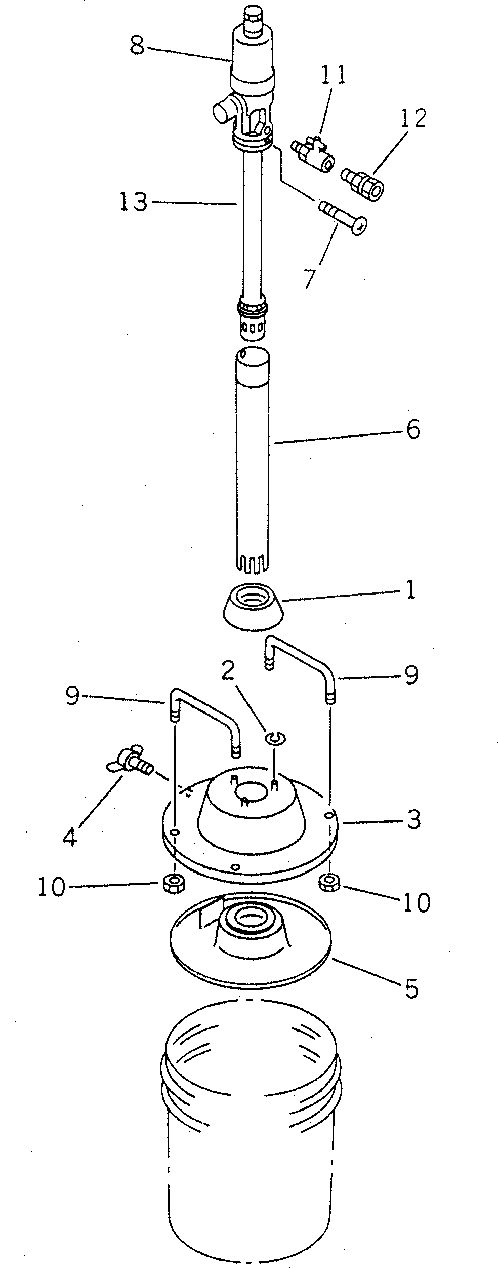
G-1

21N-68-X1000

GREASE PUMP GROUP

|$2

209-68-11202

GREASE PUMP ASS'Y

|$3

209-68-11201

GREASE PUMP ASS'Y

1

YU702743-3

JOINT

1

YU702586-3

JOINT

2

YU631418-1

WASHER,SPRING

3

YU831162-4

COVER

3

YU831074-4

COVER ASS'Y

4

YU610623-1

BOLT

5

YU802161-4

PLATE

5

YU801577-4

PLATE

6

YU708320-4

TUBE

7

YU602136-1

SCREW

8

YU681170-4

SILENCER

9

YU681675-4

HANDLE

10

YUB00005

NUT

11

YU800766-4

VALVE KIT

12

209-68-51220

ADAPTER

13

209-68-11212

PUMP ASS'Y

13

209-68-11211

PUMP ASS'Y

Выбрано товаров: 0