Запчасти Komatsu PC1000SE-1 КОВШ¤ .M¤ ШИР. 9MM (ГОРИЗОНТАЛЬН. ПАЛЕЦ)(№-) РАБОЧЕЕ ОБОРУДОВАНИЕ (ЭКСКАВАТ.)

Схема запчастей Komatsu PC1000SE-1 - КОВШ¤ .M¤ ШИР. 9MM (ГОРИЗОНТАЛЬН. ПАЛЕЦ)(№-) РАБОЧЕЕ ОБОРУДОВАНИЕ (ЭКСКАВАТ.)
FIT
1:1
100%

Артикул

Название

Примечание

Количество

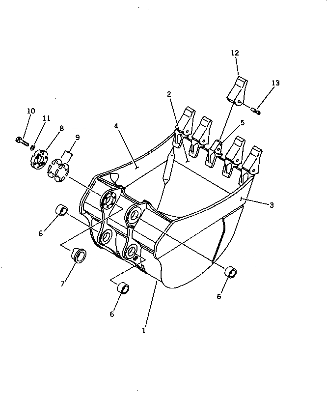
G-1

21N-939-X110

BUCKET GROUP

1

21N-939-1111

BUCKET

1

21N-939-1110

BUCKET

2

21N-939-1120

PLATE (WELDED)

3

21N-939-1150

PLATE (WELDED)

4

21N-939-1160

PLATE (WELDED)

5

21N-70-14140

ADAPTER (WELDED)

6

21N-939-1170

BUSHING

7

21N-70-14220

BUSHING

8

21N-70-14310

COVER

9

21N-70-00060

SHIM ASS'Y

9

SHIM, 0.5MM

9

SHIM, 1.0MM

10

01010-83085

BOLT

11

01643-33080

WASHER

G-2

21N-70-X5300

TOOTH GROUP

12

21N-72-14290

POINT

13

21N-72-14330

PIN ASS'Y

Выбрано товаров: 0