Запчасти Komatsu PC1000SE-1 ГИДРОЛИНИЯ ХОДА(БЛОК TO/FROM МОТОР) (+ЯC СПЕЦ-Я.)(№-) ХОДОВАЯ

Схема запчастей Komatsu PC1000SE-1 - ГИДРОЛИНИЯ ХОДА(БЛОК TO/FROM МОТОР) (+ЯC СПЕЦ-Я.)(№-) ХОДОВАЯ
FIT
1:1
100%

Артикул

Название

Примечание

Количество

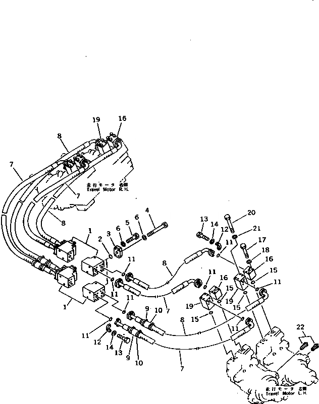
1

21N-62-14160

BLOCK

2

07000-B3038

O-RING

3

21N-62-14330

FLANGE

4

01011-81285

BOLT

5

01010-81245

BOLT

6

01643-31232

WASHER

7

07098-41012

HOSE

8

07098-41015

HOSE

9

205-62-72240

COVER

10

08034-00536

BAND

11

07000-B3032

O-RING

12

07371-31049

FLANGE,SPLIT

13

07372-21035

BOLT

14

01643-51032

WASHER

15

07000-B3032

O-RING

16

21N-62-14170

ELBOW

17

01011-81000

BOLT

17

01010-51095

BOLT

18

01643-31032

WASHER

19

21N-62-14180

ELBOW

20

01011-81045

BOLT

20

01011-51040

BOLT

21

01643-31032

WASHER

22

20B-27-11210

BLEEDER

Выбрано товаров: 24