Качественные детали и логистика
Оригинальные и аналоговые запчасти с доставкой по России, Казахстану и Беларуси
©2022 PartSell ООО "Система" ИНН 2463123282 ОГРН 1212400004838
Центральный офис: г. Красноярск, Академика Киренского, д.87, пом.4
Телефон: 8 (800) 777-65-74 Email: zakaz@partsell.ru
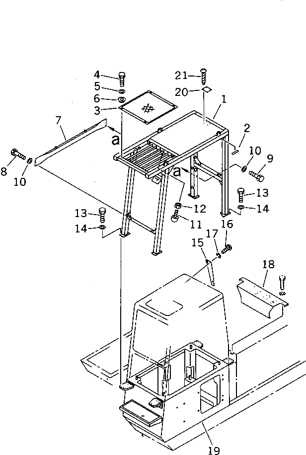
F.O.P.S. (ДЛЯ ВЫС. КАБИНА)(№-)
№
Артикул
Название
Примечание
Количество
G-1
21N-956-X200
FOPS GROUP
1
209-956-6110
GUARD
2
209-956-6141
SEAL
3
209-956-6150
COVER
4
01010-81230
BOLT
5
01643-31232
WASHER
6
21N-30-11340
COLLAR
7
209-956-6130
BRACKET
8
01010-81640
9
01010-81655
10
01643-31645
11
09453-00002
STOPPER
12
01580-11210
NUT
13
01010-81645
14
15
21N-956-1180
16
01220-40412
SCREW
17
01601-20410
WASHER,SPRING
18
21N-956-1192
19
21N-54-12430
FRAME
|19
21N-54-12790
FRAME,(FOR VISCOUS MOUNT)
20
09660-20100
PLATE¤ SAFETY
21
04418-13060
Выбрано товаров: 0