Запчасти Komatsu PC1000SP-1 ГИДР. НАСОС. NO. (НАСОС /) (/) (С -STAGE SELECTOR MODE OLSS) УПРАВЛ-Е РАБОЧИМ ОБОРУДОВАНИЕМ

Схема запчастей Komatsu PC1000SP-1 - ГИДР. НАСОС. NO. (НАСОС /) (/) (С -STAGE SELECTOR MODE OLSS) УПРАВЛ-Е РАБОЧИМ ОБОРУДОВАНИЕМ
FIT
1:1
100%

Артикул

Название

Примечание

Количество

|1

708-27-01084

HYDRAULIC PUMP ASS'Y

|1

708-27-01083

HYDRAULIC PUMP ASS'Y

|1

708-27-01082

HYDRAULIC PUMP ASS'Y

|1

708-27-01081

HYDRAULIC PUMP ASS'Y

|1

708-27-01080

HYDRAULIC PUMP ASS'Y,(HPV 160+160)

|1

708-27-01283

PUMP SUB ASS'Y

|1

708-27-01282

PUMP SUB ASS'Y

|1

708-27-01281

PUMP SUB ASS'Y

|1

708-27-01280

PUMP SUB ASS'Y

|1

708-27-00250

CASE ASS'Y,REAR

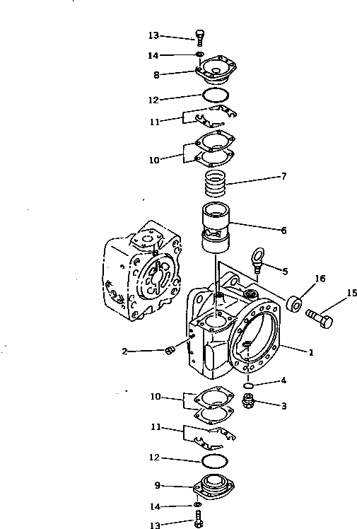
1

CASE,REAR

2

PLUG

3

07044-12412

PLUG

4

07002-02434

O-RING

5

04530-11222

BOLT,EYE

6

708-27-14110

PISTON

7

708-27-14130

SPRING

8

708-27-14150

CAP

9

708-27-14140

CAP

10

708-27-05060

SHIM KIT

|10

SHIM¤ 0.1MM

|10

SHIM¤ 0.2MM

|10

SHIM¤ 0.5MM

11

708-27-14190

SHIM¤ 0.1MM

12

07000-02075

O-RING

13

01016-51045

BOLT

14

01643-31032

WASHER

15

01010-82075

BOLT

16

708-27-12580

WASHER

Выбрано товаров: 29