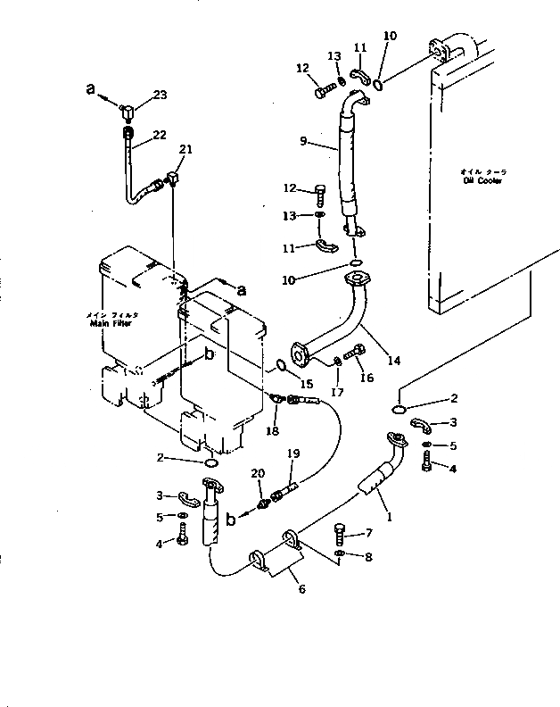
Запчасти Komatsu PC1000SP-1 ЛИНИИ МАСЛООХЛАДИТЕЛЯ УПРАВЛ-Е РАБОЧИМ ОБОРУДОВАНИЕМ

Схема запчастей Komatsu PC1000SP-1 - ЛИНИИ МАСЛООХЛАДИТЕЛЯ УПРАВЛ-Е РАБОЧИМ ОБОРУДОВАНИЕМ
FIT
1:1
100%

Артикул

Название

Примечание

Количество

1

07298-02019

HOSE

2

07000-02060

O-RING

3

07371-32076

FLANGE,SPLIT

4

07372-21240

BOLT

5

01643-51232

WASHER

6

21K-03-11190

CLIP

7

01010-51225

BOLT

8

01643-31232

WASHER

9

07298-02008

HOSE

10

07000-02060

O-RING

11

07371-32076

FLANGE,SPLIT

12

07372-21240

BOLT

13

01643-51232

WASHER

14

21N-62-16270

TUBE

15

07000-02060

O-RING

16

01010-51240

BOLT

17

01643-31232

WASHER

18

205-43-74190

ELBOW

19

07102-20207

HOSE

20

07238-10210

CONNECTOR

|20

07238-00210

CONNECTOR

21

205-43-74190

ELBOW

22

07102-20204

HOSE

23

21N-62-16310

ELBOW

Выбрано товаров: 24