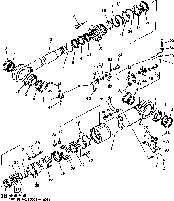
Запчасти Komatsu PC1000SP-1 ЦИЛИНДР СТРЕЛЫ РАБОЧЕЕ ОБОРУДОВАНИЕ (ЭКСКАВАТ.)

Схема запчастей Komatsu PC1000SP-1 - ЦИЛИНДР СТРЕЛЫ РАБОЧЕЕ ОБОРУДОВАНИЕ (ЭКСКАВАТ.)
FIT
1:1
100%

Артикул

Название

Примечание

Количество

G-1

21N-63-X2011

CYLINDER GROUP,L.H.

|G

21N-63-X2010

CYLINDER GROUP,R.H.

G-2

21N-63-X2021

CYLINDER GROUP,R.H.

|G

21N-63-X2020

CYLINDER GROUP,R.H.

|1

21N-63-02011

CYLINDER ASS'Y

|1

21N-63-02010

CYLINDER ASS'Y

1

21N-63-52140

CYLINDER

2

21N-63-52120

ROD

3

21T-72-15860

BUSHING

4

21T-72-15870

SEAL,DUST (KIT)

5

707-46-14010

BUSHING

6

01010-83095

BOLT

7

07179-14180

RING,SNAP

|7

707-75-16012

RING,SNAP

8

566-63-22241

SEAL,DUST (KIT)

9

707-51-16130

PACKING,ROD (KIT)

10

707-28-22510

HEAD,CYLINDER

11

707-51-16630

RING,BUFFER (KIT)

12

707-35-92300

RING,BACK-UP (KIT)

13

707-52-91350

BUSHING

|13

707-52-11610

BUSHING

14

07000-15220

O-RING (KIT)

15

07001-05220

RING,BACK-UP (KIT)

16

707-71-31720

COLLAR

17

707-71-11710

RING

18

707-71-51732

PLUNGER

|18

707-71-51731

PLUNGER

19

707-40-22910

RETAINER

|20

707-91-02231

PISTON SUB ASS'Y

|20

707-91-02230

PISTON SUB ASS'Y

20

PISTON

|20

PISTON

21

SEAT

22

VALVE,PISTON

23

SPRING

24

VALVE,PISTON

25

707-44-22280

RING,PISTON (KIT)

|25

707-44-22080

RING,PISTON (KIT)

26

707-40-22970

SPACER

27

707-37-22030

PISTON

28

707-39-22820

RING,WEAR (KIT)

29

01252-31695

BOLT

30

707-35-91440

RING

31

07000-15135

O-RING,BACK-UP (KIT)

32

21N-62-18330

TUBE,L.H.

|32

21N-62-18340

TUBE,R.H.

33

21N-62-18310

TUBE,L.H.

|33

21N-62-18320

TUBE,R.H.

34

01010-51240

BOLT

35

01643-31232

WASHER

36

21N-62-18440

BAND

37

21N-62-18380

BRACKET

38

01599-01011

NUT

39

01643-31032

WASHER

40

07283-23442

CLIP

41

07283-24346

CLIP

42

07000-13048

O-RING (KIT)

43

07378-11410

HEAD

44

07371-51470

FLANGE

45

01010-51455

BOLT

46

01643-31445

WASHER

47

07000-13038

O-RING (KIT)

48

01010-51245

BOLT

49

01643-31232

WASHER

50

07000-13038

O-RING (KIT)

51

07378-11210

HEAD

52

07371-51260

FLANGE

53

01010-51245

BOLT

54

01643-31232

WASHER

55

01010-51450

BOLT

56

01643-31445

WASHER

57

07000-13048

O-RING (KIT)

58

07043-00108

PLUG

|59

707-99-78620

SERVICE KIT

Выбрано товаров: 74