Запчасти Komatsu PC1000SP-1 МЕХ-М ОТБОРА МОЩНОСТИ ТРУБЫ (НАСОС ) ПОВОРОТН. СИСТЕМА

Схема запчастей Komatsu PC1000SP-1 - МЕХ-М ОТБОРА МОЩНОСТИ ТРУБЫ (НАСОС ) ПОВОРОТН. СИСТЕМА
FIT
1:1
100%

Артикул

Название

Примечание

Количество

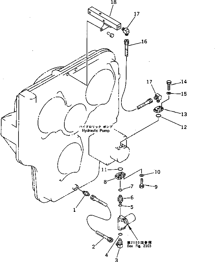
1

07238-10522

CONNECTOR

|1

12F-62-21160

NIPPLE

2

07103-20504

HOSE

|2

07103-20304

HOSE

3

21N-38-12360

ELBOW

|3

20N-62-21640

ELBOW

4

07002-31823

O-RING

5

07002-31823

O-RING

6

21N-38-12320

CONNECTOR

7

07002-32034

O-RING

8

21N-38-12310

FLANGE

9

01010-81030

BOLT

10

01643-31032

WASHER

11

07000-33035

O-RING

12

07000-33032

O-RING

13

209-38-51450

FLANGE

14

01010-80825

BOLT

15

01643-30823

WASHER

16

07102-20307

HOSE

17

144-04-51130

ELBOW

18

21N-38-12250

BLOCK

Выбрано товаров: 21