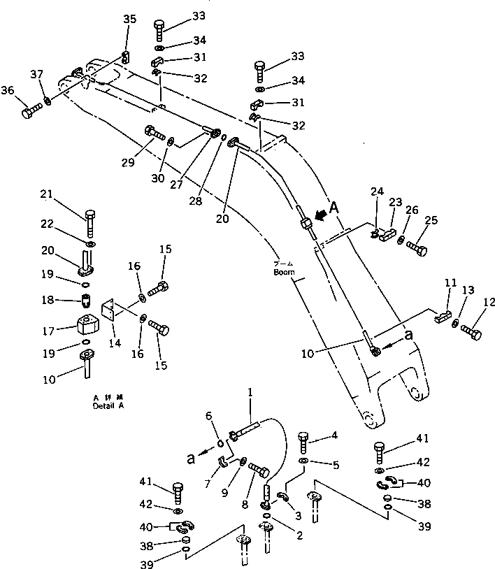
Запчасти Komatsu PC1000SP-1 ЦИЛИНДР КОВША ТРУБЫ (СТРЕЛА) (ГОЛОВКА ЦИЛИНДРОВ ЛИНИЯ) (ДЛЯ КОРОТК. СТРЕЛА¤ УСИЛ.)(№-) РАБОЧЕЕ ОБОРУДОВАНИЕ (ЭКСКАВАТ.)

Схема запчастей Komatsu PC1000SP-1 - ЦИЛИНДР КОВША ТРУБЫ (СТРЕЛА) (ГОЛОВКА ЦИЛИНДРОВ ЛИНИЯ)     (ДЛЯ КОРОТК. СТРЕЛА¤ УСИЛ.)(№-) РАБОЧЕЕ ОБОРУДОВАНИЕ (ЭКСКАВАТ.)
FIT
1:1
100%

Артикул

Название

Примечание

Количество

1

07099-01432

HOSE

2

07000-13048

O-RING

3

07371-51470

FLANGE,SPLIT

4

01010-51455

BOLT

5

01643-31445

WASHER

6

07000-13048

O-RING

7

07371-51470

FLANGE,SPLIT

8

01010-51455

BOLT

9

01643-31445

WASHER

10

21N-62-18830

TUBE

11

21N-62-18520

CLAMP

12

01010-51255

BOLT

13

01643-31232

WASHER

14

209-62-58240

BRACKET

15

01010-51230

BOLT

16

175-54-34170

WASHER

|17

209-60-53200

VALVE ASS'Y

17

209-60-12611

BODY

18

209-60-53210

POPPET

19

07000-13048

O-RING

20

21N-942-1440

TUBE

21

01011-51450

BOLT

22

01643-31445

WASHER

23

209-62-58270

CLAMP

24

209-62-58520

SEAT

25

01010-51255

BOLT

26

01643-31232

WASHER

27

21N-942-1450

TUBE

28

07000-13048

O-RING

29

01010-51455

BOLT

30

01643-31445

WASHER

31

209-62-58370

CLAMP

32

209-62-58520

SEAT

33

01010-51255

BOLT

34

01643-31232

WASHER

35

209-62-32760

CLAMP

36

01010-51255

BOLT

37

01643-31232

WASHER

38

07378-11210

HEAD

39

07000-13038

O-RING

40

07371-51260

FLANGE,SPLIT

41

01010-51245

BOLT

42

01643-31232

WASHER

Выбрано товаров: 43