Запчасти Komatsu PC1000SP-1 РАДИАТОР (С АНТИВАНДАЛЬН.) КОМПОНЕНТЫ ДВИГАТЕЛЯ И ЭЛЕКТРИКА

Схема запчастей Komatsu PC1000SP-1 - РАДИАТОР (С АНТИВАНДАЛЬН.) КОМПОНЕНТЫ ДВИГАТЕЛЯ И ЭЛЕКТРИКА
FIT
1:1
100%

Артикул

Название

Примечание

Количество

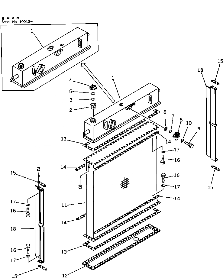
|1

21N-03-00032

RADIATOR ASS'Y

|1

21N-03-00031

RADIATOR ASS'Y

|1

21N-03-00030

RADIATOR ASS'Y

|1

21N-03-00041

.TANK ASS'Y,UPPER

|1

21N-03-00040

.TANK ASS'Y,UPPER

1

21N-03-11121

..TANK,UPPER

|1

21N-03-11120

..TANK,UPPER

2

07056-00048

..STRAINER

3

07057-03271

..RING,FILLER

G-1

21N-54-X4300

VANDALISM GROUP

B

=

====================

4

07093-20000

..CAP

5

07053-00002

...GASKET

B

=

====================

6

175-03-32570

..SCREEN

7

07000-63045

..O-RING

8

154-03-11682

..VALVE,PRESSURE

|8

195-03-41370

..VALVE,PRESSURE

9

01010-51025

..BOLT

10

01643-31032

..WASHER

11

195-03-41112

.CORE

12

21N-03-11280

.TANK,LOWER

13

195-03-41281

.GASKET

13

195-03-41280

.GASKET

14

195-03-41290

.PLATE

15

195-03-41310

.PLATE

16

01010-51035

.BOLT

17

01602-21030

.WASHER,SPRING

18

21N-03-11150

.BREAK,WIND

Выбрано товаров: 29