Запчасти Komatsu PC1000SP-1 ОСНОВНАЯ РАМА (С F.O.P.S.) (ДЛЯ НИЗ. КАБИНА)(№-) СИСТЕМА УПРАВЛЕНИЯ И ОСНОВНАЯ РАМА

Схема запчастей Komatsu PC1000SP-1 - ОСНОВНАЯ РАМА (С F.O.P.S.) (ДЛЯ НИЗ. КАБИНА)(№-) СИСТЕМА УПРАВЛЕНИЯ И ОСНОВНАЯ РАМА
FIT
1:1
100%

Артикул

Название

Примечание

Количество

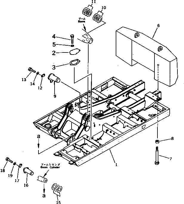
G-1

21N-956-X100

FOPS GROUP

1

21N-46-11151

FRAME

|1

21N-46-11150

FRAME

2

209-46-12231

COVER

|2

209-46-12230

COVER

3

209-46-12242

GASKET

|3

209-46-12240

GASKET

4

01010-51235

BOLT

|4

01010-51225

BOLT

5

01643-31232

WASHER

6

21N-46-12120

WEIGHT,(FOR JAPAN)

|6

21N-46-12110

WEIGHT,(FOR JAPAN)

|6

21N-46-12110

WEIGHT,(EXCEPT JAPAN)

7

209-46-51190

BOLT

8

209-46-11210

SPACER

9

21N-72-11141

PIN

10

21N-72-11210

SHIM¤ 1.0MM

11

21N-72-11220

SHIM¤ 1.5MM

12

21N-70-11210

PLATE

13

01010-52455

BOLT

14

01643-32460

WASHER

15

21N-72-11230

SHIM¤ 1.0MM

16

21N-72-11152

PIN

17

21N-70-11230

PLATE

18

01010-51640

BOLT

19

01643-31645

WASHER

Выбрано товаров: 26