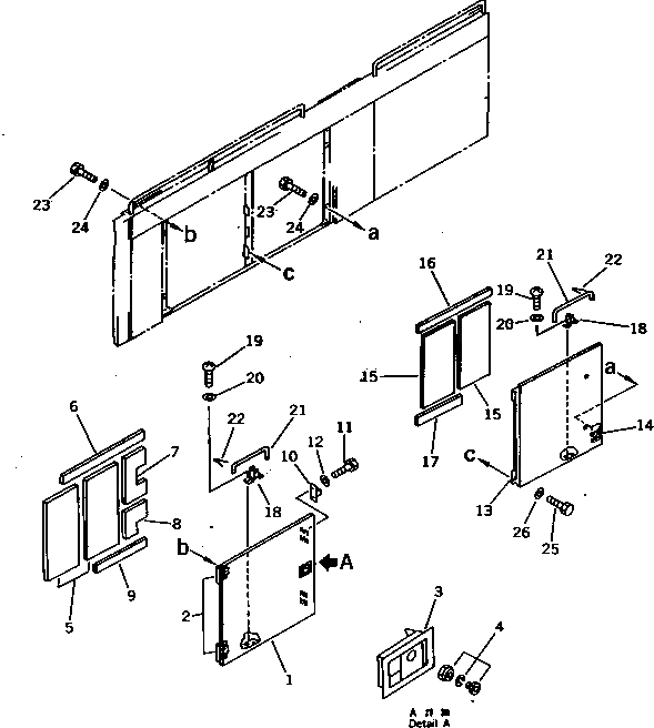
Запчасти Komatsu PC1000SP-1 ЛЕВ. КРЫШКА(ПЕРЕДН. ДВЕРЬ) ЧАСТИ КОРПУСА

Схема запчастей Komatsu PC1000SP-1 - ЛЕВ. КРЫШКА(ПЕРЕДН. ДВЕРЬ) ЧАСТИ КОРПУСА
FIT
1:1
100%

Артикул

Название

Примечание

Количество

1

209-54-53231

DOOR

2

205-54-64160

HINGE (WELDED)

3

421-54-11362

LOCK ASS'Y (WELDED)

4

421-54-11381

LOCK

5

209-54-56250

SHEET

6

209-54-56310

SHEET

7

209-54-56270

SHEET

8

209-54-56280

SHEET

9

209-54-56290

SHEET

10

205-54-53550

DOVE TAIL

11

01010-50616

BOLT

12

01643-30623

WASHER

13

209-54-53241

DOOR

14

205-54-64160

HINGE

15

209-54-56250

SHEET

16

209-54-56310

SHEET

17

209-54-56290

SHEET

18

20B-54-12210

SPRING

19

01220-40408

SCREW

20

01641-20405

WASHER

21

205-54-64140

BAR

22

04050-13018

PIN,COTTER

23

01010-51230

BOLT

24

01643-31232

WASHER

25

01010-51230

BOLT

26

01643-31232

WASHER

Выбрано товаров: 26