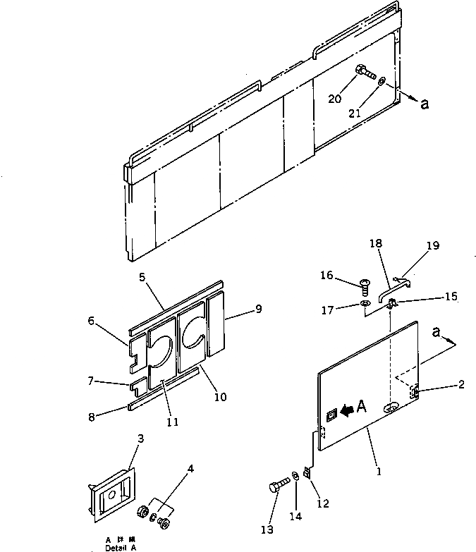
Запчасти Komatsu PC1000SP-1 ЛЕВ. КРЫШКА(ЗАДН. ДВЕРЬ) ЧАСТИ КОРПУСА

Схема запчастей Komatsu PC1000SP-1 - ЛЕВ. КРЫШКА(ЗАДН. ДВЕРЬ) ЧАСТИ КОРПУСА
FIT
1:1
100%

Артикул

Название

Примечание

Количество

1

209-54-53251

DOOR

2

205-54-64160

HINGE (WELDED)

3

421-54-11372

LOCK ASS'Y (WELDED)

4

421-54-11381

LOCK

5

209-54-56330

SHEET

6

209-54-56340

SHEET

7

209-54-56350

SHEET

8

209-54-56360

SHEET

9

209-54-56470

SHEET

10

209-54-56480

SHEET

11

209-54-56490

SHEET

12

205-54-53550

DOVE TAIL

13

01010-50616

BOLT

14

01643-30623

WASHER

15

20B-54-12210

SPRING

16

01220-40408

SCREW

17

01641-20405

WASHER

18

205-54-64140

BAR

19

04050-13018

PIN,COTTER

20

01010-51230

BOLT

21

01643-31232

WASHER

Выбрано товаров: 21