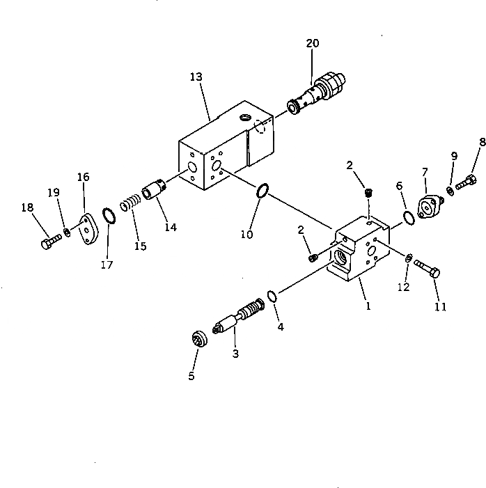
Запчасти Komatsu PC1000SP-1 БЕЗОПАСН. СТОПОРН. КЛАПАН УПРАВЛ-Е РАБОЧИМ ОБОРУДОВАНИЕМ

Схема запчастей Komatsu PC1000SP-1 - БЕЗОПАСН. СТОПОРН. КЛАПАН УПРАВЛ-Е РАБОЧИМ ОБОРУДОВАНИЕМ
FIT
1:1
100%

Артикул

Название

Примечание

Количество

|$0

209-60-52601

VALVE ASS'Y

|$1

209-60-52600

VALVE ASS'Y

1

BODY

1

BODY

2

07043-70108

PLUG

3

SPOOL

3

SPOOL

4

07000-03025

O-RING

5

07016-00256

SEAL

6

07000-03035

O-RING

7

209-60-52630

FLANGE

8

01010-51030

BOLT

9

01643-31032

WASHER

10

07000-03035

O-RING

11

01010-51080

BOLT

12

01643-31032

WASHER

13

21N-62-17311

BLOCK

14

07750-03048

VALVE

15

07750-03056

SPRING

16

07336-51027

FLANGE

17

07000-03035

O-RING

18

01010-51030

BOLT

19

01643-31032

WASHER

20

709-90-51200

RELIEF VALVE ASS'Y

Выбрано товаров: 24