Запчасти Komatsu PC1000SP-1 ГИДР. НАСОС. NO. (ПЕРЕДН. СЕРВОКЛАПАН) (8/) (С -STAGE SELECTOR MODE OLSS) УПРАВЛ-Е РАБОЧИМ ОБОРУДОВАНИЕМ

Схема запчастей Komatsu PC1000SP-1 - ГИДР. НАСОС. NO. (ПЕРЕДН. СЕРВОКЛАПАН) (8/) (С -STAGE   SELECTOR MODE OLSS) УПРАВЛ-Е РАБОЧИМ ОБОРУДОВАНИЕМ
FIT
1:1
100%

Артикул

Название

Примечание

Количество

|$0

708-27-01084

HYDRAULIC PUMP ASS'Y

|$1

708-27-01083

HYDRAULIC PUMP ASS'Y

|$2

708-27-01082

HYDRAULIC PUMP ASS'Y

|$3

708-27-01081

HYDRAULIC PUMP ASS'Y

|$4

708-27-01080

HYDRAULIC PUMP ASS'Y,(HPV 160+160)

|$6

708-27-07170

SERVO VALVE ASS'Y,FRONT

|$8

708-27-07370

SERVO VALVE SUB A.,FRONT

|$9

708-23-07021

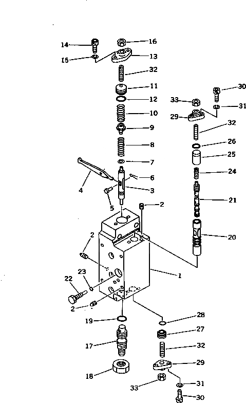
BODY ASS'Y

1

BODY

2

EXPANDER

3

708-25-15120

PISTON

4

708-67-16260

ARM

5

04205-00514

PIN

6

04050-01210

PIN,COTTER

7

708-27-25130

SEAT

8

708-27-25110

SPRING

9

708-23-15120

SEAT

10

708-27-25120

SPRING

11

708-23-15160

PLUG

12

07000-02018

O-RING

13

708-25-15150

COVER

14

708-25-15320

BOLT

15

01602-20619

WASHER,SPRING

16

01580-10806

NUT

17

708-25-55170

PLUG

18

07239-12009

NUT

19

07002-02034

O-RING

20

708-25-15180

SLEEVE

21

708-25-15280

SPOOL

22

708-25-15260

PLUG

23

07002-00823

O-RING

24

708-25-15310

SPRING

25

708-25-15330

SPACER

26

07000-02012

O-RING

27

708-25-15430

PLUG

28

07000-02012

O-RING

29

708-25-15250

COVER

30

708-25-15320

BOLT

31

01602-20619

WASHER,SPRING

32

708-25-15340

SCREW

33

01580-10806

NUT

Выбрано товаров: 41