Запчасти Komatsu PC1000SP-1 ГИДР. НАСОС. NO. (ЗАДН. СЕРВОКЛАПАН) (/) (С -STAGE SELECTOR MODE OLSS) УПРАВЛ-Е РАБОЧИМ ОБОРУДОВАНИЕМ

Схема запчастей Komatsu PC1000SP-1 - ГИДР. НАСОС. NO. (ЗАДН. СЕРВОКЛАПАН) (/) (С -STAGE   SELECTOR MODE OLSS) УПРАВЛ-Е РАБОЧИМ ОБОРУДОВАНИЕМ
FIT
1:1
100%

Артикул

Название

Примечание

Количество

|$0

708-27-01084

HYDRAULIC PUMP ASS'Y

|$1

708-27-01083

HYDRAULIC PUMP ASS'Y

|$2

708-27-01082

HYDRAULIC PUMP ASS'Y

|$3

708-27-01081

HYDRAULIC PUMP ASS'Y

|$4

708-27-01080

HYDRAULIC PUMP ASS'Y,(HPV 160+160)

|$6

708-27-07271

SERVO VALVE ASS'Y,REAR

|$7

708-27-07270

SERVO VALVE ASS'Y,REAR

|$9

708-27-07470

SERVO VALVE ASS'Y,REAR

|$10

708-23-07011

BODY ASS'Y

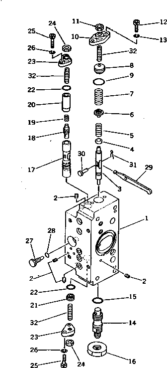
1

BODY

2

EXPANDER

3

708-25-15120

PISTON

4

708-27-25130

SEAT

5

708-27-25110

SPRING

6

708-23-15120

SEAT

7

708-27-25120

SPRING

8

708-23-15160

PLUG

9

07000-02018

O-RING

10

708-25-15150

COVER

11

01580-10806

NUT

12

708-25-15320

BOLT

13

01602-20619

WASHER,SPRING

14

708-25-55170

PLUG

15

07002-02034

O-RING

16

07239-12009

NUT

17

708-25-15180

SLEEVE

18

708-25-15280

SPOOL

19

708-25-15310

SPRING

20

708-25-15330

SPACER

21

708-25-15430

PLUG

22

07000-02012

O-RING

23

708-25-15250

COVER

24

01580-10806

NUT

25

708-25-15320

BOLT

26

01602-20619

WASHER,SPRING

27

708-25-15260

PLUG

28

07002-00823

O-RING

29

708-67-16260

ARM

30

04205-00514

PIN

31

04050-01210

PIN,COTTER

32

708-25-15340

SCREW

Выбрано товаров: 41