Запчасти Komatsu PC1000SP-1 ГИДР. НАСОС. NO. (ЗАДН. CO И NC КЛАПАН) (/) (С -STAGE SELECTOR MODE OLSS)(№-) УПРАВЛ-Е РАБОЧИМ ОБОРУДОВАНИЕМ

Схема запчастей Komatsu PC1000SP-1 - ГИДР. НАСОС. NO. (ЗАДН. CO И NC КЛАПАН) (/) (С -STAGE SELECTOR MODE OLSS)(№-) УПРАВЛ-Е РАБОЧИМ ОБОРУДОВАНИЕМ
FIT
1:1
100%

Артикул

Название

Примечание

Количество

|$0

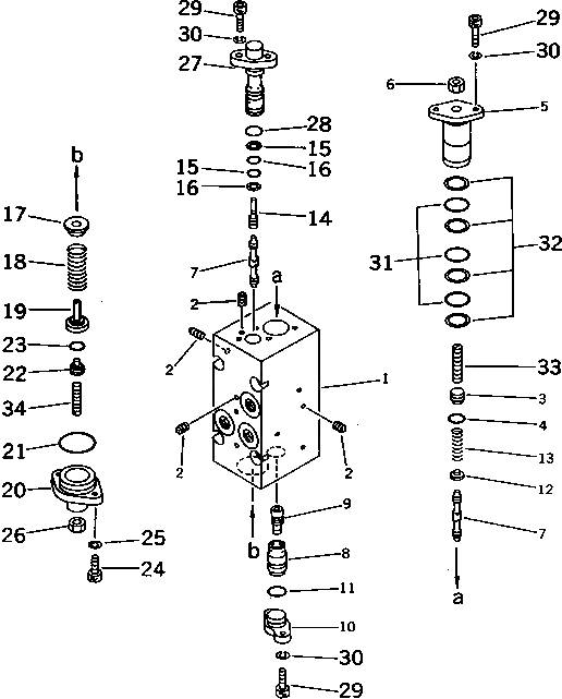
708-27-04090

HYDRAULIC PUMP ASS'Y

|$2

708-27-08290

SERVO VALVE ASS'Y,REAR

|$4

708-27-08690

VALVE ASS'Y,CO AND NC

|$5

708-23-00441

BODY ASS'Y

1

BODY

2

EXPANDER

3

708-25-17460

PLUG

4

07000-02010

O-RING

5

708-25-17131

COVER

6

01580-10806

NUT

7

708-25-17141

SPOOL

8

708-25-17150

SLEEVE

9

708-25-17160

PISTON

10

708-25-17170

COVER

11

07000-02014

O-RING

12

708-25-17180

SEAT

13

708-25-17690

SPRING

14

708-25-17220

PISTON

15

07000-12012

O-RING

16

07001-02012

RING,BACK-UP

17

708-25-17370

SEAT

18

708-25-17250

SPRING

19

708-25-17260

SEAT

20

708-25-17350

COVER

21

07000-03028

O-RING

22

708-25-17410

PLUG

23

07000-01009

O-RING

24

708-25-15320

BOLT

25

01602-20619

WASHER,SPRING

26

01580-10806

NUT

27

708-25-17451

SLEEVE

28

07000-02012

O-RING

29

708-25-15320

BOLT

30

01602-20619

WASHER,SPRING

31

07000-12021

O-RING

32

07001-02021

RING,BACK-UP

33

708-25-17430

SCREW

34

708-25-15340

SCREW

Выбрано товаров: 38